Full depth S (185)
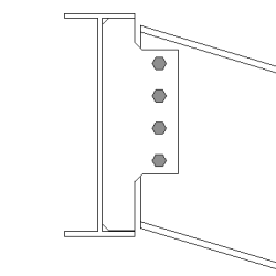
Full depth S (185) connects two beams with a full depth shear tab. The shear tab is welded to the main beam web and flanges, and bolted to the secondary beam web. The secondary beam can be leveled or sloped. A stiffener plate on the opposite side of the main beam web and the haunch plates welded to the secondary beam flanges are optional.
Objects created
-
Shear tabs (1 or 2)
-
Stiffener (optional)
-
Haunch plates (optional)
-
Weld backing bars (optional)
-
Bolts
-
Welds
-
Cuts
Use for
|
Situation |
Description |
|---|---|
|
|
Full depth shear tab. |
|
|
Full depth shear tab. The secondary part is sloped. |
|
|
Full depth shear tab. The secondary part is sloped and skewed. |
|
|
Full depth shear tab. The secondary part is offset. Some bolts have been deleted. |
Selection order
-
Select the main part (beam).
-
Select the secondary part (beam).
The connection is created automatically when the secondary part is selected.
Part identification key
|
Part |
|
|---|---|
|
1 |
Shear tab |
|
2 |
Haunch plate |
Tekla Structures uses values in the joints.def file to create this component.
Picture tab
Use the Picture tab to control the position of the shear tab, and the beam flange and web cuts.
Dimensions

|
Description |
Default |
|
|---|---|---|
|
1 |
Shear tab edge distance from the main part flange edge. |
0 |
|
2 |
Shear tab edge distance from the main part flange edge. |
0 |
|
3 |
Cut of the secondary part. Cutting the secondary part creates a gap between the main part and the secondary part. |
20 mm |
|
4 |
Size of the strip made to the secondary part flange. The cut of the flange is defined from the shear tab edge. |
The flange is automatically stripped when the shear tab crosses the flange. 20 mm |
|
5 |
Gap between the shear tab and the main part web. |
Beam end cut
Define how the secondary beam end is cut. The beam is viewed from the side.
|
Option |
Description |
|---|---|
|
|
Default Bevel AutoDefaults can change this option. |
|
|
Automatic If the secondary beam is sloped less than 10 degrees, the beam end is cut square. Otherwise, the beam end is cut bevel. |
|
|
Square Cuts the end of the secondary beam square. |
|
|
Bevel Cuts the end of the secondary beam parallel to the edge of the main part. |
|
|
Square cut closer to the main part web Cuts the end of the secondary beam square and places the beam closer to the main part web. |
|
|
Clipped flange Cuts the corner of the flange at the end of the secondary beam. |
Beam web cut
Define how the secondary beam web end is cut. The beam is viewed from the top.
|
Option |
Description |
|---|---|
|
|
Default Bevel AutoDefaults can change this option. |
|
|
Bevel Cuts the end of the web bevel when the end of the secondary beam is cut bevel. |
|
|
Square Cuts the end of the web square even if the end of the secondary beam is cut bevel. |
Beam flange cut
Define how the secondary beam flange end is cut. The beam is viewed from the top.
|
Option |
Description |
|---|---|
|
|
Default Bevel AutoDefaults can change this option. |
|
|
Bevel Cuts the end of the flange bevel. |
|
|
Square Cuts a part of the flange square and leaves a part of it bevel. |
Beam bottom flange cut
|
Option |
Description |
|---|---|
|
|
Default Flange cut AutoDefaults can change this option. |
|
|
Notch The bottom of the secondary beam is notched if the shear tab crosses the flange. Enter the notch radius and height. |
|
|
Flange cut The secondary beam flange is cut on the same side as the shear tab if the shear tab crosses the flange. |
Plates tab
Use the Plates tab to control the size, position, number, and shape of the shear tab.
Shear tab plate
| Option | Description |
|---|---|
|
Tab plate |
Shear tab plate thickness, width and height. |
|
Option |
Description |
Default |
|---|---|---|
|
Pos_No |
Prefix and start number for the part position number. Some components have a second row of fields where you can enter the assembly position number. |
The default part start number is defined in the Components settings in . |
|
Material |
Material grade. |
The default material is defined in the Part material box in the Components settings in . |
|
Name |
Name that is shown in drawings and reports. |
|
|
Finish |
Describes how the part surface has been treated. |
Shear tab chamfers

| Description | |
|---|---|
|
1 |
Horizontal dimension of the shear tab chamfer. |
|
2 |
Vertical dimension of the shear tab chamfer. |
|
3 |
Vertical and the horizontal dimension of the shear tab chamfer. |
Chamfer type
|
Option |
Description |
|---|---|
|
|
Default Line chamfer AutoDefaults can change this option. |
|
|
No chamfer |
|
|
Line chamfer |
|
|
Convex arc chamfer |
|
|
Concave arc chamfer |
Chamfer type dimensions
|
Option |
Description |
|---|---|
|
|
Default Line chamfer AutoDefaults can change this option. |
|
|
No chamfer |
|
|
Line chamfer |
|
|
Concave arc chamfer |
Inner shear tab chamfers
|
Description |
|
|---|---|
|
1 |
Horizontal dimension of the shear tab chamfer. |
|
2 |
Vertical dimension of the shear tab chamfer. |
|
3 |
Radius and the vertical dimensions of the shear tab inner chamfer. |
Chamfer type
|
Option |
Option |
Description |
|---|---|---|
|
|
|
Default No chamfer AutoDefaults can change this option. |
|
|
|
No chamfer |
|
|
|
Line chamfer |
|
|
|
Convex arc chamfer |
|
|
|
Concave arc chamfer |
Inner chamfer type
|
Option |
Description |
|---|---|
|
|
Default Concave arc chamfer AutoDefaults can change this option. |
|
|
No chamfer |
|
|
Line chamfer |
|
|
Concave arc chamfer |
|
|
Convex arc chamfer |
Shear tab position
Define the number and the side of shear tabs in single shear tab connections.
|
Option |
Description |
|---|---|
|
|
Default Far side shear tab AutoDefaults can change this option. |
|
|
Automatic The component automatically selects either the near side or the far side shear tab. The tab is created to the side of the secondary part when the angle between the main part and the secondary part is less than 90 degrees. |
|
|
Far side shear tab |
|
|
Near side and far side shear tab |
|
|
Near side shear tab |
Gap between shear tabs

| Description | Default | |
|---|---|---|
|
1 |
Gap between the secondary part web and shear tab. |
0 |
Shear tab end cut
|
Option |
Description |
|---|---|
|
|
Default The shear tab end is not cut. AutoDefaults can change this option. |
|
|
Square The shear tab end is not cut. |
|
|
Bevel The shear tab end is cut parallel to the main part web. |
Shear tab orientation
|
Option |
Description |
|---|---|
|
|
Default Square AutoDefaults can change this option. |
|
|
Automatic Square |
|
|
Sloped The shear tab is sloped in the direction of the secondary beam. Both vertical edges of the shear tab are cut parallel to the end of the secondary beam. |
|
|
Square |
Stiffeners tab
Use the Stiffeners tab to control the stiffener plate dimensions, orientation, position, and type.
Web stiffener plate dimensions
| Option | Description |
|---|---|
|
Web stiffener |
Thickness, width, and height of the web stiffener. |
|
Option |
Description |
Default |
|---|---|---|
|
Pos_No |
Prefix and start number for the part position number. Some components have a second row of fields where you can enter the assembly position number. |
The default part start number is defined in the Components settings in . |
|
Material |
Material grade. |
The default material is defined in the Part material box in the Components settings in . |
|
Name |
Name that is shown in drawings and reports. |
|
|
Finish |
Describes how the part surface has been treated. |
Stiffener creation
|
Option |
Description |
|---|---|
|
|
Default No stiffeners are created. AutoDefaults can change this option. |
|
|
Full Creates a full stiffener of the same height as the web of the main part. |
|
|
Determined by shear tab Tekla Structures determines the size of the stiffener based on the shear tab size. Tekla Structures attempts to keep the bottom edges of the stiffener plate and shear tab level, if possible. |
|
|
Partial Leaves a gap between the stiffener plate and the bottom flange of the main part. |
|
|
No stiffeners are created. |
Stiffener gap

| Description | |
|---|---|
|
1 |
Size of the gap between the main part flange and the stiffener. |
|
2 |
Distance from the edge of the main part flange to the edge of the stiffener. |
|
3 |
Gap between the web stiffener and main part web. |
Stiffener orientation
|
Option |
Description |
|---|---|
|
|
Default Stiffeners are parallel to the secondary part. AutoDefaults can change this option. |
|
|
Stiffeners are perpendicular to the main part. |
|
|
Stiffeners are parallel to the secondary part. |
Chamfer dimensions
|
Description |
|
|---|---|
|
1 |
Horizontal dimension of the chamfer. |
|
2 |
Vertical dimension of the chamfer. |
Chamfer type
|
Option |
Description |
|---|---|
|
|
Default Line chamfer AutoDefaults can change this option. |
|
|
No chamfer |
|
|
Line chamfer |
|
|
Convex arc chamfer |
|
|
Concave arc chamfer |
Web stiffener offset
Define the web stiffener offset from the shear tab center line.
Haunch tab
Use the Haunch tab to control the haunch plate creation and chamfers in the secondary beam flanges.
Haunch plates
| Option | Description |
|---|---|
|
Top plate |
Thickness, width, and height of the top plate. |
|
Bottom plate |
Thickness, width, and height of the bottom plate. |
|
Option |
Description |
Default |
|---|---|---|
|
Pos_No |
Prefix and start number for the part position number. Some components have a second row of fields where you can enter the assembly position number. |
The default part start number is defined in the Components settings in . |
|
Material |
Material grade. |
The default material is defined in the Part material box in the Components settings in . |
|
Name |
Name that is shown in drawings and reports. |
|
|
Finish |
Describes how the part surface has been treated. |
Haunch plate chamfers
|
Description |
|
|---|---|
|
1 |
Width of the top haunch plate chamfer. |
|
2 |
Height of the top haunch plate chamfer. |
|
3 |
Height of the bottom haunch plate chamfer. |
|
4 |
Width of the bottom haunch plate chamfer. |
Haunch plate creation
|
Option |
Description |
|---|---|
|
|
Default Top and bottom haunch plates are created, if needed. AutoDefaults can change this option. |
|
|
Automatic Top or bottom haunch plate or both are created, if needed. |
|
|
Top and bottom haunch plates are created. To create a single plate, enter 0 in the thickness (t) field for the plate you do not need (top or bottom plate). |
|
|
Haunch plates are not created. |
Notch tab
Use the Notch tab to automatically create notches for the secondary beam and to control the notch properties. The Notch tab has two sections: automatic properties (top section) and manual properties (bottom section). Automatic and manual notching properties work independently from each other.
Automatic notching
Automatic notching options affect both the top and the bottom flange.
Notch shape
Automatic notching is switched on when you select a notch shape.
|
Option |
Description |
|---|---|
|
|
Default Creates notches to the secondary beam. AutoDefaults can change this option. |
|
|
Creates notches to the secondary beam. The cuts are square to the main beam web. |
|
|
Creates notches to the secondary beam. The cuts are square to the secondary beam web. |
|
|
Creates notches to the secondary beam. The vertical cut is square to the main beam, and the horizontal cut is square to the secondary beam. |
|
|
Turns off automatic notching. |
Notch size
|
Option |
Description |
|---|---|
|
|
Default The notch size is measured from the edge of the main beam flange and from underneath the top flange of the main beam. AutoDefaults can change this option. |
|
|
The notch size is measured from the edge of the main beam flange and from underneath the top flange of the main beam. |
|
|
The notch size is measured from the center line of the main beam and from the top flange of the main beam. |
Enter the horizontal and vertical values for the cuts.
Flange cut shape
|
Option |
Description |
|---|---|
|
|
Default Secondary beam flange is cut parallel to the main beam. AutoDefaults can change this option. |
|
|
Secondary beam flange is cut parallel to the main beam. |
|
|
Secondary beam flange is cut square. |
Notch dimension rounding
Use the notch dimension rounding options to define whether the notch dimensions are rounded up. Even if the dimension rounding is set to active, the dimensions are rounded up only when necessary.
|
Option |
Description |
|---|---|
|
|
Default Notch dimensions are not rounded. AutoDefaults can change this option. |
|
|
Notch dimensions are not rounded. |
|
|
Notch dimensions are rounded. Enter the horizontal and vertical rounding values. |
The dimensions are rounded up the nearest multiple of the value you enter. For example, if the actual dimension is 51 and you enter a round-up value of 10, the dimension is rounded up to 60.
Notch position
|
Option |
Description |
|---|---|
|
|
Default Creates the cut below the main beam flange. AutoDefaults can change this option. |
|
|
Creates the cut below the main beam flange. |
|
|
Creates the cut above the main beam flange. |
Notch chamfer
|
Option |
Description |
|---|---|
|
|
Default The notch is not chamfered. AutoDefaults can change this option. |
|
|
The notch is not chamfered. |
|
|
Creates the notch with a line chamfer. |
|
|
The notch is chamfered according to the radius you enter. |
Enter a radius for the chamfer.
Manual notching
Use manual notching when a part that does not belong to the connection clashes with the secondary beam. When you use manual notching, the connection creates cuts using the values you enter in the fields on the Notch tab. You can use different values for the top and the bottom flange.
Side of flange notch
The side of flange notch defines on which side of the beam the notches are created.
|
Option |
Description |
|---|---|
|
|
Default Creates notches on both sides of the flange. AutoDefaults can change this option. |
|
|
Automatic Creates notches on both sides of the flange. |
|
|
Creates notches on both sides of the flange. |
|
|
Creates notches on the near side of the flange. |
|
|
Creates notches on the far side of the flange. |
Flange notch shape
The flange notch shape defines the notch shape in the beam flange.
|
Option |
Description |
|---|---|
|
|
Default The entire flange of the secondary beam is cut as far back as you define. AutoDefaults can change this option. |
|
|
Automatic The entire flange of the secondary beam is cut as far back as you define. The default depth for the notch is twice the thickness of the secondary flange. The cut always runs the entire width of the secondary flange. |
|
|
Creates chamfers in the flange. If you do not enter a horizontal dimension, a chamfer of 45 degrees is created. |
|
|
Creates cuts to the flange with default values unless you enter values in the fields 1and 2. |
|
|
The flange is not cut. |
|
|
Creates cuts to the flange according to the value in the field 1 to make it flush with the web. |
|
|
Creates cuts to the flange according to the values in the fields 1 and 2. |
Flange notch depth
|
Option |
Description |
|---|---|
|
|
Default Flange notch depth. AutoDefaults can change this option. |
|
|
Flange notch depth. |
|
|
Flange notch depth with a dimension from the secondary beam web center line to the edge of the notch. |
Enter the value for flange notch depth.
Cut dimensions
|
Description |
Default |
|
|---|---|---|
|
1 |
Dimensions for the horizontal flange cuts. |
10 mm |
|
2 |
Dimensions for the vertical flange cuts. |
The gap between the notch edge and the beam flange is equal to the main part web rounding. The notch height is rounded up to the nearest 5 mm. |
Dimension from web to flange cut
|
Description |
|
|---|---|
|
1 |
Define the distance between the web and the flange cut. |
Bolts tab
Use the Bolts tab to control the properties of the bolts that connect the shear tab to the secondary part.
Bolt group dimensions
Bolt group dimensions affect the size and shape of the shear tab.
|
Description |
|
|---|---|
|
1 |
Dimension for horizontal bolt group position. |
|
2 |
Bolt edge distance. Edge distance is the distance from the center of a bolt to the edge of the part. |
|
3 |
Number of bolts. |
|
4 |
Bolt spacing. Use a space to separate bolt spacing values. Enter a value for each space between bolts. For example, if there are 3 bolts, enter 2 values. |
|
5 |
Dimension for vertical bolt group position. |
|
6 |
Select how to measure the dimensions for vertical bolt group position.
|
|
7 |
Define which bolts are deleted from the bolt group. Enter the bolt numbers of the bolts to be deleted and separate the numbers with a space. Bolt numbers run from left to right and from top to bottom. |
Staggering of bolts
|
Option |
Description |
|---|---|
|
|
Default Not staggered AutoDefaults can change this option. |
|
|
Not staggered |
|
|
Staggered type 1 |
|
|
Staggered type 2 |
|
|
Staggered type 3 |
|
|
Staggered type 4 |
Bolt group orientation
|
Option |
Description |
|---|---|
|
|
Default Square AutoDefaults can change this option. |
|
|
Automatic Square |
|
|
Staggered Bolts are staggered in the direction of the secondary part. |
|
|
Square Square bolt group is positioned horizontally. |
|
|
Sloped Square bolt group is sloped in the direction of the secondary part. |
Bolt basic properties
|
Option |
Description |
Default |
|---|---|---|
|
Bolt size |
Bolt diameter. |
Available sizes are defined in the bolt assembly catalog. |
|
Bolt standard |
Bolt standard to be used inside the component. |
Available standards are defined in the bolt assembly catalog. |
|
Tolerance |
Gap between the bolt and the hole. |
|
|
Thread in mat |
Defines whether the thread may be within the bolted parts when bolts are used with a shaft. This has no effect when full-threaded bolts are used. |
Yes |
|
Site/Workshop |
Location where the bolts should be attached. |
Site |
Slotted holes
You can define slotted, oversized, or tapped holes.
|
Option |
Description |
Default |
|---|---|---|
|
1 |
Vertical dimension of slotted hole. |
0, which results in a round hole. |
|
2 |
Horizontal dimension of slotted hole, or allowance for oversized holes. |
0, which results in a round hole. |
|
Hole type |
Slotted creates slotted holes. Oversized creates oversized holes. No hole does not create holes. Tapped creates tapped holes. |
|
|
Rotate Slots |
When the hole type is Slotted, this option rotates the slotted holes. |
|
|
Slots in |
Part(s) in which slotted holes are created. The options depend on the component in question. |
Bolt assembly
The selected check boxes define which component objects (bolt, washers, and nuts) are used in the bolt assembly.
If you want to create a hole only, clear all the check boxes.
To modify the bolt assembly in an existing component, select the Effect in modify check box and click Modify.
Bolt length increase
Define how much the bolt length is increased. Use this option when, for example, painting requires the bolt length to be increased.
Bolting direction
|
Option |
Description |
|---|---|
|
|
Default Bolting direction 1 AutoDefaults can change this option. |
|
|
Bolting direction 1 |
|
|
Bolting direction 2 |
Beam cut tab
Use the Beam cut tab to control weld backing bars, weld access holes, beam end preparations, and flange cuts.
Backing bar
| Option | Description |
|---|---|
|
Backing bar |
Thickness and width of the backing bar. |
|
Option |
Description |
Default |
|---|---|---|
|
Pos_No |
Prefix and start number for the part position number. Some components have a second row of fields where you can enter the assembly position number. |
The default part start number is defined in the Components settings in . |
|
Material |
Material grade. |
The default material is defined in the Part material box in the Components settings in . |
|
Name |
Name that is shown in drawings and reports. |
|
|
Finish |
Describes how the part surface has been treated. |
Weld access hole dimensions
|
Description |
|
|---|---|
|
1 |
Gap between the secondary part top flange and the main part. |
|
2 |
Vertical dimensions for the top and the bottom weld access holes. |
|
3 |
Horizontal dimensions for the top and the bottom weld access holes. |
|
4 |
Gap between the secondary part web and the main part. Tekla Structures adds the value you enter here to the gap you enter on the Picture tab. |
|
5 |
Gap between the secondary part bottom flange and the main part. Tekla Structures adds the value you enter here to the gap you enter on the Picture tab. |
Weld access holes
|
Option |
Description |
Default |
|---|---|---|
|
|
Default Round weld access hole AutoDefaults can change this option. |
|
|
|
Round weld access hole |
|
|
|
Square weld access hole |
|
|
|
Diagonal weld access hole |
|
|
|
Round weld access hole with a radius that you can define in
|
|
|
|
Extended cone-shaped weld access hole with a radius and dimensions that you can define in
|
|
|
|
Cone-shaped weld access hole with radiuses that you can define in
Capital R defines the large radius (height). Small r defines the small radius. |
R = 35 r = 10 |
Beam end preparation
|
Option |
Description |
|---|---|
|
|
Default Top and bottom flange are prepared. AutoDefaults can change this option. |
|
|
Automatic Top and bottom flange are prepared. |
|
|
Beam end is not prepared. |
|
|
Top and bottom flange are prepared. |
|
|
Top flange is prepared. |
|
|
Bottom flange is prepared. |
Flange cut
|
Option for top flange |
Option for bottom flange |
Description |
|---|---|---|
|
|
|
Default Flange is not cut. AutoDefaults can change this option. |
|
|
|
Flange is not cut. |
|
|
|
Flange is cut. |
Weld backing bars
|
Option for top backing bar |
Option for bottom backing bar |
Description |
|---|---|---|
|
|
|
Default Backing bars are created inside the flanges. AutoDefaults can change this option. |
|
|
|
No backing bars are created. |
|
|
|
Backing bars are created inside the flanges. |
|
|
|
Backing bars are created outside the flanges. |
Weld backing bar length
Enter the length of the weld backing bar in the box below the options.
|
Option |
Description |
|---|---|
|
|
Default Absolute length of the backing bar AutoDefaults can change this option. |
|
|
Absolute length of the backing bar |
|
|
Extension beyond the edge of the flange |
Weld backing bar position
|
Option |
Description |
|---|---|
|
|
Enter a positive or a negative value to move the front end of the backing bar relative to the end of the flange. |
Assembly type
Define the location where the weld backing bar welds are made. When you select the Workshop option, Tekla Structures includes the backing bars in the assembly.
General tab
Click the link below to find out more:
Design tab
Click the link below to find out more:
Analysis tab
Click the link below to find out more:
Welds
Click the link below to find out more: