Einbetonierte Platte (1069)
Einbetonierte Platte (1069) erstellt eine einbetonierte Platte am ausgewählten Ende eines Trägers. Dem Blech können Bolzen, Schrauben, gebogene Ankerschrauben oder Nagellöcher hinzugefügt werden.
Erzeugte Objekte
-
Einbet. Platte
-
Lasche
-
Winkel
-
Schrauben
-
Bolzen
-
Anker
-
Unterlegblech
-
Schweißnähte
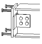
Verwendung
| Situation | Beschreibung |
|---|---|
|
|
Geschraubter Winkel an der vorderen und hinteren Seite des Trägers. Der Winkel wird mit Hilfe von gebogenen Ankerschrauben im Beton verankert. |
|
|
Verankerung mit vier Bolzen. |
|
|
Die Lasche wird an einen schrägen Träger geschraubt. |
Auswahlreihenfolge
-
Wählen Sie das Hauptteil aus (Träger).
-
Picken Sie eine Position am vorderen Ende des Trägers.
Beachten Sie, dass über den gewählten Punkt festgelegt wird, von welchem Ende des Trägers aus das Blech positioniert werden soll. Es wird dadurch nicht das Blech selbst positioniert.
Die Verbindung wird beim Picken der Position automatisch erstellt.
Teilerkennung

| Beschreibung | |
|---|---|
|
1 |
Einbet. Platte |
|
2 |
Winkel oder Lasche |
Registerkarte Abbildung
Definieren Sie über die Registerkarte Abbildung den Verbindungstyp und die Abmessungen.
Trägerverbindungstyp
| Option | Beschreibung |
|---|---|
|
|
Für die Verbindung zwischen Träger und einbetonierte Platte wird ein Winkel verwendet. |
|
|
Über eine Lasche wird der Träger mit der einbetonierten Platte verbunden. |
Abmessungen/Bemaßungen

| Beschreibung | Standard | |
|---|---|---|
|
1 |
Kantenabstand zwischen Trägerende und Lasche oder Winkelprofilende. |
1-2" |
|
2 |
Kantenabstand zwischen Oberseite Träger und Oberseite Winkelprofil. Diese Option gilt nur für Winkelprofile, nicht für Laschen. |
1-3/4" |
|
3 |
Abstand zwischen einbetonierter Platte und Lasche oder Winkelprofil. |
0 |
Trägerendschnitt
Definieren Sie, wie das Ende des Nebenträgers geschnitten wird. Der Träger wird von der Seite betrachtet.
|
Option |
Beschreibung |
|---|---|
|
|
Standard Schräg AutoDefaults kann diese Option ändern. |
|
|
Automatisch Wenn der Nebenträger weniger als 10 Grad geneigt ist, wird das Trägerende senkrecht geschnitten. Andernfalls wird das Trägerende schräg geschnitten. |
|
|
Quadrat Schneidet das Ende des Nebenträgers senkrecht ab. |
|
|
Schräg Schneidet das Ende des Nebenträgers parallel zur Kante des Hauptteils. |
Ausrichtung der einbetonierten Platte
| Option | Beschreibung |
|---|---|
![]() |
Standard Einbetonierte Platte wird entlang der Trägerebene ausgerichtet und erstellt. AutoDefaults kann diese Option ändern. |
![]() |
Einbetonierte Platte wird entlang der Trägerebene ausgerichtet und erstellt. |
![]() |
Einbetonierte Platte wird im globalen Koordinatensystem erstellt. |
Versatz der einbetonierten Platte
| Option | Beschreibung |
|---|---|
|
|
Höhenversatz der einbetonierten Platte ab Blechebene. |
|
|
Ebenenversatz der einbetonierten Platte ab Blechebene. |
Drehung der einbetonierten Platte
| Option | Beschreibung |
|---|---|
|
|
Drehung des einbetonierten Platte in Grad ab Blechebene. |
|
|
Drehung des einbetonierten Platte aus der Ebene in Grad ab Blechebene. |
Registerkarte Teile
Auf der Registerkarte Teile legen Sie die Eigenschaften für die Teile fest.
Teile
| Option | Beschreibung |
|---|---|
|
Einbet. Platte |
Dicke, Breite und Höhe der einbetonierten Platte. |
|
Profil N/S |
Wählen Sie das Profil aus dem Profilkatalog aus. |
|
Profil F/S |
Wählen Sie das Profil aus dem Profilkatalog aus. |
|
Lasche |
Dicke, Breite und Höhe der Lasche. |
|
Blechscheibe |
Dicke, Breite und Höhe des Unterlegblechs. |
|
Option |
Beschreibung |
Standard |
|---|---|---|
|
Pos. Nr. |
Präfix und Startnummer für die Teilepositionsnummer. Einige Komponenten verfügen über eine zweite Feldreihe, in der Sie die Positionsnummer des Montageteils eingeben können. |
Die Standard-Teil-Startnummer wird in den Komponenten-Einstellungen unter festgelegt. |
|
Material |
Material. |
Das Standardmaterial wird im Feld Material der Teile in den Komponenten-Einstellungen unter festgelegt. |
|
Name |
Name, der in Zeichnungen und Listen angezeigt wird. |
|
|
Ausführung |
Gibt an, wie die Teiloberfläche behandelt wurde. |
Spalt zwischen Winkeln

| Beschreibung | |
|---|---|
|
1 |
Spalt zwischen Nebenteilsteg und Winkeln. Das wirkt sich nur auf Verbindungen mit zwei Winkeln aus. |
Position des Winkels
| Option | Beschreibung |
|---|---|
|
|
Standard Es wird ein Winkel oder eine Lasche an der vorderen Seite erstellt. AutoDefaults kann diese Option ändern. |
|
|
Automatisch Es wird ein Winkel oder eine Lasche an der vorderen Seite erstellt. |
|
|
Rückseite Es wird ein Winkel oder eine Lasche an der hinteren Seite erstellt. |
|
|
Beide Seiten Es werden zwei Winkel oder Laschen an der vorderen oder hinteren Seite erstellt. |
|
|
Vorderseite Es wird ein Winkel oder eine Lasche an der vorderen Seite erstellt. |
Winkelschenkelrichtung
| Rückseite | Vorderseite | Beschreibung |
|---|---|---|
|
|
|
Standard Nicht vertauscht Der längere Schenkel des Winkels wird mit dem Nebenteil verbunden. AutoDefaults kann diese Option ändern. |
|
|
|
Nicht vertauscht Der längere Schenkel des Winkels wird mit dem Nebenteil verbunden. |
|
|
|
Vertauscht Der längere Schenkel des Winkels wird mit der einbetonierten Platte verbunden. |
Blechscheibe
Definieren Sie Blechscheiben für Schrauben, und wählen Sie die Blechscheibenseite aus.
| Option | Beschreibung |
|---|---|
|
|
Standard Keine Blechscheibe AutoDefaults kann diese Option ändern. |
|
|
Keine Blechscheibe |
|
|
Eine Blechscheibe |
|
|
Einzelne rechteckige Blechscheiben für jede Schraube |
|
|
Einzelne runde Blechscheiben für jede Schraube |
| Option | Beschreibung |
|---|---|
|
Wählen Sie aus, ob die Blechscheibe für eine Lasche oder für beide Laschen erstellt wird. |
Registerkarte Bolzen/Anker
Über die Registerkarte Bolzen/Anker definieren Sie, ob Bolzen oder Anker und gegebenenfalls mit welchen Eigenschaften erstellt werden sollen.
Eigenschaften
| Option | Beschreibung |
|---|---|
|
Bolzengröße |
Bolzendurchmesser. |
|
Bolzenstandard |
Bolzenname. |
|
Bolzenlänge |
Bolzenlänge. |
|
Baustelle/Werkstatt. |
Ort, wo die Schrauben montiert werden sollen. |
|
Bol/Ank |
Wählen Sie aus, ob Bolzen, Anker oder keines von beidem erstellt werden sollen. |
|
Bolzen/Ankerprofile |
Wählen Sie das Profil aus dem Profilkatalog aus. |
|
Option |
Beschreibung |
Standard |
|---|---|---|
|
Pos. Nr. |
Präfix und Startnummer für die Teilepositionsnummer. Einige Komponenten verfügen über eine zweite Feldreihe, in der Sie die Positionsnummer des Montageteils eingeben können. |
Die Standard-Teil-Startnummer wird in den Komponenten-Einstellungen unter festgelegt. |
|
Material |
Material. |
Das Standardmaterial wird im Feld Material der Teile in den Komponenten-Einstellungen unter festgelegt. |
|
Name |
Name, der in Zeichnungen und Listen angezeigt wird. |
Maße Schraubengruppe

| Beschreibung | |
|---|---|
|
1 |
Vertikale Schraubengruppenabmessung ab Mittellinie des Blechs. |
|
2 |
Horizontale Schraubengruppenabmessung ab Mittellinie des Blechs. |
|
3 |
Schraubenrandabstand. Der Randabstand ist der Abstand zwischen der Mitte einer Schraube und dem Rand des Teils. |
|
4 |
Anzahl der Schrauben. |
|
5 |
Schraubenabstand. Geben Sie ein Leerzeichen ein, um Schraubenabstandswerte zu trennen. Geben Sie für jeden Schraubenabstand einen Wert ein. Geben Sie beispielsweise für 3 Schrauben 2 Werte ein. |
|
6 |
Definieren Sie, welche Schrauben aus der Schraubengruppe gelöscht werden. Geben Sie die Nummern der zu löschenden Schrauben ein, und trennen Sie die Nummern jeweils durch ein Leerzeichen. Die Schrauben sind von links nach rechts und von oben nach unten nummeriert. |
Ankerbiegerichtung
| Option | Beschreibung |
|---|---|
|
|
Standard Anker werden nach innen gebogen. AutoDefaults kann diese Option ändern. |
|
|
Anker werden nach innen gebogen. |
|
|
Anker werden nach außen gebogen. |
|
|
Anker werden nicht gebogen. Bolzen werden erstellt. |
Länge der gebogenen Ankerschrauben

| Beschreibung | Standard | |
|---|---|---|
|
1 |
Biegeradius. |
3/8" |
|
2 |
Länge der gebogenen Ankerschrauben. |
4" |
|
3 |
Hakenlänge. |
1-1/2" |
Bolzenlänge

| Beschreibung | Standard | |
|---|---|---|
|
1 |
Definieren Sie die Bolzenlänge. |
4" |
Registerkarte Nagellöcher
Definieren Sie über die Registerkarte Nagellöcher die Positionen und Abmessungen des Nagellochs.
Nagellochpositionen
| Option | Beschreibung |
|---|---|
|
|
Standard Keine Nagellöcher. AutoDefaults kann diese Option ändern. |
|
|
Keine Nagellöcher. |
|
|
Erstellt Nagellöcher in der oberen rechten und unteren linken Ecke des Blechs. |
|
|
Erstellt Nagellöcher in der oberen linken und unteren rechten Ecke des Blechs. |
|
|
Erstellt Nagellöcher in allen vier Ecken des Blechs. |
Nagellochabmessungen

| Beschreibung | |
|---|---|
|
1 |
Nagelloch-Kantenabstand. |
|
2 |
Nagellochdurchmesser. |
Registerkarte Schrauben
Definieren Sie auf der Registerkarte Schrauben die Schraubengruppenabmessungen und die Schraubeneigenschaften.
Maße Schraubengruppe

| Beschreibung | |
|---|---|
|
1 |
Abmessung für horizontale Schraubengruppenposition. |
|
2 |
Schraubenrandabstand. Der Randabstand ist der Abstand zwischen der Mitte einer Schraube und dem Rand des Teils. |
|
3 |
Anzahl der Schrauben. |
|
4 |
Schraubenabstand. Geben Sie ein Leerzeichen ein, um Schraubenabstandswerte zu trennen. Geben Sie für jeden Schraubenabstand einen Wert ein. Geben Sie beispielsweise für 3 Schrauben 2 Werte ein. |
|
5 |
Abmessung für vertikale Schraubengruppenposition. |
|
6 |
Wählen Sie, wie die Maße für die Position der vertikalen Schraubengruppe gemessen werden.
|
|
7 |
Definieren Sie, welche Schrauben aus der Schraubengruppe gelöscht werden. Geben Sie die Nummern der zu löschenden Schrauben ein, und trennen Sie die Nummern jeweils durch ein Leerzeichen. Die Schrauben sind von links nach rechts und von oben nach unten nummeriert. |
Grundlegende Schraubeneigenschaften
|
Option |
Beschreibung |
Standard |
|---|---|---|
|
Durchmesser |
Schraubendurchmesser. |
Die verfügbaren Größen sind im Schraubengarniturkatalog definiert. |
|
Schraubennorm |
Die innerhalb der Komponente zu verwendende Schraubennorm. |
Die verfügbaren Normen sind im Schraubengarniturkatalog definiert. |
|
Lochspiel |
Das Spiel zwischen Schraube und Loch. |
|
|
Gew. im Material |
Legt fest, ob sich das Gewinde bei Schaftschrauben innerhalb der verschraubten Teile befinden darf. Dies hat keine Auswirkungen, wenn Vollgewindeschrauben verwendet werden. |
Ja |
|
Baustelle/Werkstatt |
Ort, wo die Schrauben montiert werden sollen. |
Baustelle |
Langlöcher
Es können Langlöcher oder überdimensionierte Löcher definiert werden.
|
Option |
Beschreibung |
Standard |
|---|---|---|
|
1 |
Vertikale Abmessung des Langlochs. |
0 ergibt ein rundes Loch. |
|
2 |
Horizontale Abmessung des Langlochs oder Größe für übergroße Löcher. |
0 ergibt ein rundes Loch. |
|
Lochtyp |
Langloch erstellt Langlöcher. Großes Loch erstellt überdimensionierte Löcher. Kein Loch erzeugt keine Löcher. Gewindelöcher erstellt Gewindelöcher. |
|
|
Gedrehte Löcher |
Wenn es sich bei dem Lochtyp um Langloch handelt, werden die Langlöcher mit dieser Option gedreht. |
|
|
Löcher in |
Teil(e), in dem/denen Langlöcher erstellt werden. Die Optionen sind abhängig von der jeweiligen Komponente. |
Schraubengarnitur
Die aktivierten Kontrollkästchen definieren, welche Objekte (Schrauben, Unterlegscheiben und Muttern) in der Schraubengarnitur verwendet werden.
Deaktivieren Sie alle Kontrollkästchen, wenn Sie nur ein Loch erstellen möchten.
Um die Schraubengarnitur in einer vorhandenen Komponente zu ändern, aktivieren Sie das Kontrollkästchen Änderung und klicken auf Ändern.
Verlängerung der Schrauben
Definieren Sie, um welches Maß die Schrauben verlängert werden sollen. Verwenden Sie diese Option zum Beispiel dann, wenn eine Verlängerung der Schrauben aufgrund einer Lackierung erforderlich wird.
Schraubenversatz
|
Option |
Beschreibung |
|---|---|
|
|
Standard Nicht versetzt AutoDefaults kann diese Option ändern. |
|
|
Nicht versetzt |
|
|
Versetzung 1 |
|
|
Versetzung 2 |
|
|
Versetzung 3 |
|
|
Versetzung 4 |
Schraubengruppenausrichtung
|
Option |
Beschreibung |
|---|---|
|
|
Standard Quadrat AutoDefaults kann diese Option ändern. |
|
|
Automatisch Quadrat |
|
|
Geschrankt Die Schrauben werden in Richtung des Nebenteils versetzt. |
|
|
Quadrat Eine senkrechte Schraubengruppe wird horizontal angeordnet. |
|
|
Geneigt Eine senkrechte Schraubengruppe wird in Richtung des Nebenteils geneigt. |
Registerkarte Allgemein
Klicken Sie auf den folgenden Link, um weitere Informationen zu erhalten:
Registerkarte Design-Typ
Klicken Sie auf den folgenden Link, um weitere Informationen zu erhalten:
Registerkarte Berechnung
Klicken Sie auf den folgenden Link, um weitere Informationen zu erhalten:
Schweißnähte
Klicken Sie auf den folgenden Link, um weitere Informationen zu erhalten:































