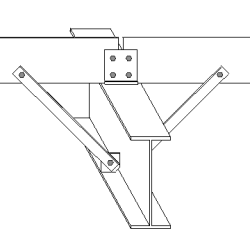
Kaltgewalzte Überlappung (1)
Kaltgewalzte Überlappung (1) verbindet eine oder zwei Pfetten oder Geländer mit einem Sparren oder Pfosten. Einige Eigenschaften dieser Komponente werden direkt aus der overlap.dat Datei geladen. Wenden Sie sich an den Tekla Structures lokalen Support, wenn Sie die Komponente weiter anpassen müssen, als es das Dialogfeld zulässt.
Erzeugte Objekte
-
Doppelwinkel
-
Steife
-
Streben
-
Schrauben
-
Schweißnähte
Verwendung
Sie können die Verbindung verwenden für:
-
Überlappende Verbindungen
-
Stoßverbindungen
-
Verbinden von durchlaufenden Pfetten oder Geländern
-
Giebelenden
Nicht für Verbindungen zu Walmsparren verwenden, die über eine speziell dafür vorgesehene Verbindung verfügen.
| Situation | Beschreibung |
|---|---|
|
|
Träger-an-Trägervolllager-Riegelverbindung mit zwei Nebenteilen. Blechverbindung. |
|
|
Träger-an-Trägervolllager-Riegelverbindung mit zwei Nebenteilen. Winkelverbindung. |
|
|
Träger-an-Trägervolllager-Riegelverbindung mit zwei Nebenteilen. Knieverbandsverbindung. |
Bevor Sie beginnen
Erstellen Sie zwei Pfetten in gleicher Tiefe und mit parallelen Mittellinien.
-
Zum Erstellen der Pfetten nutzen Sie abwechselnde¡ Drehungen: zuerst oben, dann unten und so weiter.
-
Platzieren Sie die Pfetten an der Mittellinie des Sparrens. Tekla Structures verlängert sie automatisch bis zur erforderlichen Überlappung.
-
Definieren Sie ggf. den Giebelüberstand.
Verwenden Sie den vom Hersteller angegebenen Standardversatz für den Sparrenflansch.
Diese Einstellungen führen zu Kollisionen von Pfetten, weshalb Sie diese bei der Kollisionskontrolle mithilfe eines Auswahlfilters ausschließen können. Geben Sie beispielsweise PURLIN als Name der Eigenschaftsnamen in den Filter ein.
Auswahlreihenfolge
-
Wählen Sie das Hauptteil aus (Sparren oder Pfosten).
-
Wählen Sie die Nebenteile aus (eine oder zwei Pfetten).
-
Zum Erstellen der Komponente drücken Sie die mittlere Maustaste.
Teilerkennung


| Beschreibung | |
|---|---|
|
1 |
Winkel-Profil |
|
2 |
Streben-Profil |
|
3 |
Streben-Blech |
Registerkarte Abbildung
Verwenden Sie die Registerkarte Abbildung , um die Position und Abmessungen der Knagge zu definieren.
Abmessungen der Knagge

| Beschreibung | |
|---|---|
|
1 |
Die Pfettenschuhhöhre wird verwendet, wenn die Mittellinie des Pfettenschuhprofils höher als die Sparrenmittellinie platziert ist. |
|
2 |
Der Abstand zwischen der Mittellinie des Pfettenschuhs und der Pfettenkante. Dieser Abstand gilt nur für Giebelenden. Der Standardwert ist 0 mm. |
|
3 |
Breite des Pfettenschuhs bei parallel zum Riegel verlaufender Mittellinie des Pfettenschuhprofils. |

| Beschreibung | |
|---|---|
|
1 |
Der Abstand zwischen Mitte Pfettenschuh und Mitte Riegel. |
|
2 |
Der Abstand zwischen Mitte Pfettenschuh und dem Pfetten-Ende bei zwei Pfetten. |
Registerkarte Pfettenschuh
Auf der Registerkarte Pfettenschuh definieren Sie die Eigenschaften und die Position der Pfettenschuhe und Steifen sowie die der Riegelschrauben und Pfettenschuh-Riegel-Schrauben.
Teile
| Option | Beschreibung |
|---|---|
|
Pfettenschuh-Profil |
Wählen Sie das Profil aus dem Profilkatalog aus. |
|
Steife |
Definieren Sie die Dicke der Steife. |
|
Option |
Beschreibung |
Standard |
|---|---|---|
|
Pos. Nr. |
Präfix und Startnummer für die Teilepositionsnummer. Einige Komponenten verfügen über eine zweite Feldreihe, in der Sie die Positionsnummer des Montageteils eingeben können. |
Die Standard-Teil-Startnummer wird in den Komponenten-Einstellungen unter festgelegt. |
|
Material |
Material. |
Das Standardmaterial wird im Feld Material der Teile in den Komponenten-Einstellungen unter festgelegt. |
|
Name |
Name, der in Zeichnungen und Listen angezeigt wird. |
Eigenschaften von Sparrenschrauben
| Option | Beschreibung |
|---|---|
|
Schraubennorm |
Schraubennorm für alle Schrauben zur Verbindung von Pfettenschuh und Riegel. Zum Definieren von Schraubennorm und Lochtoleranz für die Pfettenschuh-Riegel-Schraubverbindung.
|
|
Lochspiel |
Spalt zwischen den Schrauben und dem Riegel bei allen Schrauben der Pfettenschuh-Riegel-Verbindung. |
|
Montage |
Ort, wo die Schrauben montiert werden sollen. |
Schraubengarnitur
Die aktivierten Kontrollkästchen definieren, welche Objekte (Schrauben, Unterlegscheiben und Muttern) in der Schraubengarnitur verwendet werden.
Deaktivieren Sie alle Kontrollkästchen, wenn Sie nur ein Loch erstellen möchten.
Um die Schraubengarnitur in einer vorhandenen Komponente zu ändern, aktivieren Sie das Kontrollkästchen Änderung und klicken auf Ändern.
Abmessungen der Pfettenschuh-Riegel-Schraubengruppe
Zum Definieren der Abmessungen der Riegelschraubengruppe wählen Sie zunächst die Verschraubung von Pfettenschuh und Riegel aus.


| Beschreibung | |
|---|---|
|
1 |
Horizontaler Schraubenabstand. |
|
2 |
Durchmesser der Pfettenschuh-Riegel-Schrauben. |
|
3 |
Pfettenschuhversatz zu Mittellinie Riegel. |
|
4 |
Anzahl der Schrauben. |
|
5 |
Schraubenabstand. Geben Sie ein Leerzeichen ein, um Schraubenabstandswerte zu trennen. Geben Sie für jeden Schraubenabstand einen Wert ein. Geben Sie beispielsweise für 3 Schrauben 2 Werte ein. |
|
6 |
Schraubenrandabstand. Der Randabstand ist der Abstand zwischen der Mitte einer Schraube und dem Rand des Teils. |
Pfettenschuhausrichtung
| Option | Beschreibung |
|---|---|
|
|
Standardmäßig Die Mittellinie des Pfettenschuhs verläuft parallel zum Riegel. AutoDefaults kann diese Option ändern. |
|
|
Die Mittellinie des Pfettenschuhprofils verläuft parallel zum Riegel. |
|
|
Die Mittellinie des Pfettenschuhprofils verläuft senkrecht zum Riegel. |
|
|
Die Mittellinie des Pfettenschuhs verläuft parallel zum Riegel. Es wird eine linienförmige Steife erstellt. Hierüber definieren Sie die Schnittabmessungen der Steife. |
|
|
Die Mittellinie des Pfettenschuhprofils verläuft senkrecht zum Riegel. Es wird eine quadratische Steife erstellt. |
Schnittmaße der Steife
Definieren Sie die Abmessungen für die linienförmigen oder die quadratischen Steifen.

| Beschreibung | |
|---|---|
|
1 |
Vertikales Eckschnittmaß |
|
2 |
Horizontales Eckschnittmaß |
|
3 |
Horizontale Schnittabmessung |
|
4 |
Vertikale Schnittabmessung |

| Beschreibung | |
|---|---|
|
1 |
Horizontale Abmessung |
|
2 |
Vertikale Abmessung |
Lage des Pfettenschuhs
| Option | Beschreibung |
|---|---|
|
|
Standardmäßig Der Pfettenschuh wird an der Vorderseite der Pfette befestigt. Tekla Structures positioniert den Pfettenschuh anhand des verwendeten Pfettenprofil. AutoDefaults kann diese Option ändern. |
|
|
Der Pfettenschuh wird an der Vorderseite der Pfette befestigt. |
|
|
Der Pfettenschuh wird der Rückseite der Pfette hinzugefügt. |
Pfettenschuhanbau
| Option | Beschreibung |
|---|---|
|
|
Standardmäßig Der Pfettenschuh wird mit dem Riegel verschweißt. AutoDefaults kann diese Option ändern. |
|
|
Der Pfettenschuh wird mit dem Riegel verschraubt. |
|
|
Der Pfettenschuh wird mit dem Riegel verschweißt. |
Registerkarte Streben
Auf der Registerkarte Streben erstellen und definieren Sie die Eigenschaften von Streben, Streben-Blechen und Streben-Schrauben.
Teile
| Option | Beschreibung |
|---|---|
|
Strebenprofil |
Wählen Sie das Profil aus dem Profilkatalog aus. |
|
Strebenblech |
Dicke, Breite und Höhe des Strebenblechs. |
|
Strebenwinkel |
Dicke des Strebenwinkels. |
|
Option |
Beschreibung |
Standard |
|---|---|---|
|
Pos. Nr. |
Präfix und Startnummer für die Teilepositionsnummer. Einige Komponenten verfügen über eine zweite Feldreihe, in der Sie die Positionsnummer des Montageteils eingeben können. |
Die Standard-Teil-Startnummer wird in den Komponenten-Einstellungen unter festgelegt. |
|
Material |
Material. |
Das Standardmaterial wird im Feld Material der Teile in den Komponenten-Einstellungen unter festgelegt. |
|
Name |
Name, der in Zeichnungen und Listen angezeigt wird. |
|
|
Ausführung |
Gibt an, wie die Teiloberfläche behandelt wurde. |
Schraubeneigenschaften
| Option | Beschreibung |
|---|---|
|
Pfetten-Streben-Schraubennorm Riegel-Streben-Schraubennorm |
Wählen Sie die Schraubennorm für die Schrauben aus, mit denen die Streben oder Riegel-Streben mit den Pfetten verbunden werden. |
|
Pfetten-Streben-Lochspiel Riegel-Streben-Lochspiel |
Hierüber definieren Sie das Lochspiel für die Schrauben der Verbindung zwischen Streben oder Riegel-Streben und Pfetten. |
|
Strebendrehung |
Hierüber definieren Sie den Drehwinkel der Strebe. |
Lage der Strebe
| Option | Beschreibung |
|---|---|
|
|
Standardmäßig Es werden keine Streben erstellt. AutoDefaults kann diese Option ändern. |
|
|
Es werden keine Streben erstellt. |
|
|
Es werden auf beiden Seiten Streben erstellt. Es werden Strebenbleche erstellt. |
|
|
Die Strebe wird auf der rechten Seite erstellt. Das Strebenblech wird erstellt. |
|
|
Die Strebe wird auf der linken Seite erstellt. Das Strebenblech wird erstellt. |
|
|
Die Strebe wird auf der rechten Seite erstellt. Es werden auf beiden Seiten Strebenbleche erstellt. |
|
|
Die Strebe wird auf der linken Seite erstellt. Es werden auf beiden Seiten Strebenbleche erstellt. |
|
|
Löcher werden erzeugt. Es werden keine Streben und Strebenbleche erstellt. |
Strebenanbau
| Option | Beschreibung |
|---|---|
|
|
Standardmäßig Die Strebe wird unten am Pfettensteg angeschlossen. AutoDefaults kann diese Option ändern. |
|
|
Die Strebe wird oben am Pfettensteg angeschlossen. |
|
|
Die Strebe wird mittig am Pfettensteg angeschlossen. |
|
|
Die Strebe wird unten am Pfettensteg angeschlossen. |
Erstellung von Löchern/Schrauben in Streben
| Option | Beschreibung |
|---|---|
|
|
Standardmäßig Ein Loch oder eine Schraube im Riegel. AutoDefaults kann diese Option ändern. |
|
|
Ein Loch oder eine Schraube im Riegel. |
|
|
Beim Platzieren des Lochs oder der Schraube einer Strebe in einem bestimmten unter d definierten Abstand zu einem anderen bereits vorhandenen Loch oder einer anderen Schraube der Strebe werden diese miteinander vereint. Der Abstand d wird in der overlap.dat Datei definiert. |
Strebenblechanbau an der Voute
| Option | Beschreibung |
|---|---|
|
|
Standardmäßig Die Strebenbleche werden den Vouten hinzugefügt. AutoDefaults kann diese Option ändern. |
|
|
Die Strebenbleche werden den Riegeln hinzugefügt. Es muss die Verbindung über einer Voute angewendet werden. |
|
|
Die Strebenbleche werden den Vouten hinzugefügt. |
Streben-Schrauben

| Beschreibung | |
|---|---|
|
1 |
Schraubenrandabstand. Der Randabstand ist der Abstand zwischen der Mitte einer Schraube und dem Rand des Teils. |
|
2 |
Schraubenrandabstand. Der Randabstand ist der Abstand zwischen der Mitte einer Schraube und dem Rand des Teils. |
|
3 |
Anzahl der Schrauben. |
|
4 |
Schraubenabstand. Geben Sie ein Leerzeichen ein, um Schraubenabstandswerte zu trennen. Geben Sie für jeden Schraubenabstand einen Wert ein. Geben Sie beispielsweise für 3 Schrauben 2 Werte ein. |
|
5 |
Abstand zwischen Schraubenkante und Strebenkante. |
|
6 |
Abstand zwischen Schraube und Mittellinie Riegel. |
|
7 |
Abstand zwischen Strebenblechkante und Riegelkante. |
|
8 |
Schraubendurchmesser. |
Eckschnittabmessungen

| Beschreibung | |
|---|---|
|
1 |
Vertikales Eckschnittmaß |
|
2 |
Horizontales Eckschnittmaß |
Eckschnittform
| Option | Beschreibung |
|---|---|
|
|
Standard Gerader Eckschnitt AutoDefaults kann diese Option ändern. |
|
|
Kein Eckschnitt |
|
|
Gerader Eckschnitt |
|
|
Konvexer Eckschnitt |
|
|
Konkaver Eckschnitt |
Registerkarte Schrauben
Auf der Registerkarte Schrauben definieren Sie die Abmessungen der Schraubengruppe und die Eigenschaften der Schrauben für die Pfettenschuh-Pfetten-Verbindung.
Maße Schraubengruppe

| Beschreibung | |
|---|---|
|
1 |
Abmessung für vertikale Schraubengruppenposition. |
|
2 |
Schraubenrandabstand. Der Randabstand ist der Abstand zwischen der Mitte einer Schraube und dem Rand des Teils. |
|
3 |
Anzahl der Schrauben. |
|
4 |
Schraubenabstand. Geben Sie ein Leerzeichen ein, um Schraubenabstandswerte zu trennen. Geben Sie für jeden Schraubenabstand einen Wert ein. Geben Sie beispielsweise für 3 Schrauben 2 Werte ein. |

| Beschreibung | |
|---|---|
|
1 |
Abmessung für horizontale Schraubengruppenposition. |
|
2 |
Schraubenrandabstand. Der Randabstand ist der Abstand zwischen der Mitte einer Schraube und dem Rand des Teils. |
|
3 |
Schraubenabstand. |
Grundlegende Schraubeneigenschaften
|
Option |
Beschreibung |
Standard |
|---|---|---|
|
Durchmesser |
Schraubendurchmesser. |
Die verfügbaren Größen sind im Schraubengarniturkatalog definiert. |
|
Schraubennorm |
Die innerhalb der Komponente zu verwendende Schraubennorm. |
Die verfügbaren Normen sind im Schraubengarniturkatalog definiert. |
|
Lochspiel |
Das Spiel zwischen Schraube und Loch. |
|
|
Gew. im Material |
Legt fest, ob sich das Gewinde bei Schaftschrauben innerhalb der verschraubten Teile befinden darf. Dies hat keine Auswirkungen, wenn Vollgewindeschrauben verwendet werden. |
Ja |
|
Baustelle/Werkstatt |
Ort, wo die Schrauben montiert werden sollen. |
Baustelle |
Langlöcher
Es können Langlöcher oder überdimensionierte Löcher definiert werden.
|
Option |
Beschreibung |
Standard |
|---|---|---|
|
1 |
Vertikale Abmessung des Langlochs. |
0 ergibt ein rundes Loch. |
|
2 |
Horizontale Abmessung des Langlochs oder Größe für übergroße Löcher. |
0 ergibt ein rundes Loch. |
|
Lochtyp |
Langloch erstellt Langlöcher. Großes Loch erstellt überdimensionierte Löcher. Kein Loch erzeugt keine Löcher. Gewindelöcher erstellt Gewindelöcher. |
|
|
Gedrehte Löcher |
Wenn es sich bei dem Lochtyp um Langloch handelt, werden die Langlöcher mit dieser Option gedreht. |
|
|
Löcher in |
Teil(e), in dem/denen Langlöcher erstellt werden. Die Optionen sind abhängig von der jeweiligen Komponente. |
Schraubengarnitur
Die aktivierten Kontrollkästchen definieren, welche Objekte (Schrauben, Unterlegscheiben und Muttern) in der Schraubengarnitur verwendet werden.
Deaktivieren Sie alle Kontrollkästchen, wenn Sie nur ein Loch erstellen möchten.
Um die Schraubengarnitur in einer vorhandenen Komponente zu ändern, aktivieren Sie das Kontrollkästchen Änderung und klicken auf Ändern.
Verlängerung der Schrauben
Definieren Sie, um welches Maß die Schrauben verlängert werden sollen. Verwenden Sie diese Option zum Beispiel dann, wenn eine Verlängerung der Schrauben aufgrund einer Lackierung erforderlich wird.
Ausrichtung Schraube
| Option | Beschreibung |
|---|---|
|
|
Standard Die Schrauben werden rechtwinklig zum Hauptteil angeordnet. AutoDefaults kann diese Option ändern. |
|
|
Die Schrauben werden rechtwinklig zum Hauptteil angeordnet. |
|
|
Die Schrauben werden rechtwinklig zum Nebenteil angeordnet. |
Schraubenlöcher
| Option | Beschreibung |
|---|---|
|
|
Standardmäßig Schraubenlöcher werden nicht erstellt. AutoDefaults kann diese Option ändern. |
|
|
Schraubenlöcher werden nicht erstellt. |
|
|
Schraubenlöcher werden am Giebelende der Sparrenflansche erstellt. |
Überlappende Schrauben
| Option | Beschreibung |
|---|---|
|
|
Standardmäßig Es werden überlappende Flanschschrauben erstellt. AutoDefaults kann diese Option ändern. |
|
|
Es werden überlappende Flanschschrauben erstellt. |
|
|
Es werden überlappende Steg-Schrauben erstellt. |
Erstellung von Überlappungen
| Option | Beschreibung |
|---|---|
|
|
Standardmäßig Es wird eine Überlappung erzeugt. AutoDefaults kann diese Option ändern. |
|
|
Automatisch Es wird eine Überlappung erzeugt. |
|
|
Es wird eine Überlappung erzeugt. |
|
|
Es wird keine Überlappung erstellt. |
Registerkarte Allgemein
Klicken Sie auf den folgenden Link, um weitere Informationen zu erhalten:
Registerkarte Berechnung
Klicken Sie auf den folgenden Link, um weitere Informationen zu erhalten:
Schweißnähte
Klicken Sie auf den folgenden Link, um weitere Informationen zu erhalten:
















































