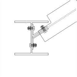
Gebogenes Blech (190)
Gebogenes Blech (190) verbindet zwei Träger oder einen Träger und eine Stütze über ein oder zwei geschraubte oder geschweißte gebogene Bleche miteinander. Der Nebenträger kann eben, geneigt oder abgeschrägt sein. Geschweißte Voutenbleche sind optional.
Erzeugte Objekte
-
Gebogenes Blech (1 oder 2)
-
Steifen (optional)
-
Voutenblech oben und unten (optional)
-
Schweißbleche (optional)
-
Schrauben
-
Schweißnähte
-
Schnitte
Verwendung
|
Situation |
Beschreibung |
|---|---|
|
|
Gebogenes Blech verbindet zwei Träger. Das Nebenteil ist schräg. |
|
|
Gebogenes Blech, verbunden mit einem Stützenflansch. Das Nebenteil ist schräg. |
|
|
Gebogenes Blech verbindet zwei Träger. Das Nebenteil ist schräg. |
|
|
Gebogenes Blech verbindet zwei Träger. Das Nebenteil ist schräg. Das Blech kann an verschiedenen Postionen platziert werden. |
|
|
Gebogenes Blech verbindet zwei Träger. Das Nebenteil ist schräg und geneigt. |
|
|
Gebogenes Blech, verbunden mit einem Stützensteg. Das Nebenteil ist schräg. |
Auswahlreihenfolge
-
Wählen Sie das Hauptteil (Träger oder Stütze) aus.
-
Wählen Sie das Nebenteil aus (Träger). Bei Auswahl des Nebenteils wird die Verbindung automatisch erstellt.
Teilerkennung
|
Teil |
|
|---|---|
|
1 |
Gebogenes Blech |
|
2 |
Voutenblech |
Tekla Structures verwendet die Werte aus der Datei joints.def, um diese Komponente zu erstellen.
Registerkarte Abbildung
Über die Registerkarte Abbildung können Sie die Position des gebogenen Blechs steuern und festlegen, wie das Trägerende geschnitten wird.
Bemaßung
|
Beschreibung |
Standard |
|
|---|---|---|
|
1 |
Schnittlänge für das Nebenteil. Der Schnittpunkt wird relativ zur Kante des gebogenen Blechs definiert. |
20 mm |
|
2 |
Abstand zwischen Oberkante des gebogenen Blechs und Oberseite des Nebenteils. Die Position der Blechoberkante verändert die Höhe des gebogenen Blechs. Durch einen positiven Wert wird die obere Position näher in Richtung Mittelpunkt des Trägers verschoben und verringert somit die Größe des gebogenen Blechs. Durch negative Werte wird die Blechgröße erhöht. |
Wird kein Wert eingegeben, definieren die Schrauben und Schraubenrandabstände die Größe des Blechs. |
|
3 |
Abstand zwischen Unterkante des gebogenen Blechs und Unterseite des Nebenteils. Die Position der Blechunterkante verändert die Höhe des gebogenen Blechs. Durch einen positiven Wert wird die untere Position näher in Richtung Mittelpunkt des Trägers verschoben und verringert somit die Blechgröße. Durch negative Werte wird die Blechgröße erhöht. |
Wird kein Wert eingegeben, definieren die Schrauben und Schraubenrandabstände die Größe des Blechs. |
|
4 |
Größe der Lasche, die an den Nebenteilflansch angepasst wird. Der Schnittpunkt des Flanschs wird relativ zur Kante des gebogenen Blechs definiert. |
Der Flansch wird automatisch ausgeklinkt, wenn das gebogene Blech den Flansch kreuzt. 10 mm |
|
5 |
Spalt zwischen dem Hauptteil und dem gebogenen Blech. |
0 |
Trägerendschnitt
Definieren Sie, wie das Trägerende geschnitten wird. Das Nebenteil wird von der Seite angezeigt.
|
Option |
Beschreibung |
|---|---|
|
|
Standard Schräg AutoDefaults kann diese Option ändern. |
|
|
Automatisch Wenn das Nebenteil weniger als 10 Grad geneigt ist, wird ein Senkrechtschnitt erstellt. Andernfalls wird ein Schrägschnitt zum Ende des Nebenteils durchgeführt. |
|
|
Quadrat Erstellt einen Senkrechtschnitt zum Ende des Nebenteils. |
|
|
Schräg Schneidet das Ende des Nebenteils parallel zur Kante des Hauptteils. |
Registerkarte Bleche
Auf der Registerkarte Bleche können Sie Stärke, Position und Befestigung des gebogenen Blechs festlegen. Die Abmessungen auf den Registerkarten Abbildung und Schrauben beeinflussen die Größe des gebogenen Blechs ebenfalls.
Gebogenes Blech NS/FS
| Option |
Beschreibung |
|---|---|
|
Gebogenes Blech |
Dicke des gebogenen Blechs. |
|
Option |
Beschreibung |
Standard |
|---|---|---|
|
Pos. Nr. |
Präfix und Startnummer für die Teilepositionsnummer. Einige Komponenten verfügen über eine zweite Feldreihe, in der Sie die Positionsnummer des Montageteils eingeben können. |
Die Standard-Teil-Startnummer wird in den Komponenten-Einstellungen unter festgelegt. |
|
Material |
Material. |
Das Standardmaterial wird im Feld Material der Teile in den Komponenten-Einstellungen unter festgelegt. |
|
Name |
Name, der in Zeichnungen und Listen angezeigt wird. |
|
|
Ausführung |
Gibt an, wie die Teiloberfläche behandelt wurde. |
Position des gebogenen Blechs
|
Option |
Beschreibung |
|---|---|
|
|
Standard Gebogenes Blech an Vorder- und Rückseite AutoDefaults kann diese Option ändern. |
|
|
Automatisch Die gebogenen Bleche an Vorder- oder Rückseite werden automatisch erzeugt. |
|
|
Vorderseite vertauscht Erstellt ein gebogenes Blech an der Vorderseite. Ein Schenkel zeigt dabei zur Rückseite. |
|
|
Rückseite vertauscht Erstellt ein gebogenes Blech an der Rückseite. Ein Schenkel zeigt dabei zur Vorderseite. |
|
|
Rückseite |
|
|
Vorderseite |
|
|
Vorder- und Rückseite |
Befestigungstyp für Haupt- und Nebenteil
|
Option |
Beschreibung |
|---|---|
|
|
Standard Das gebogene Blech wird mit dem Hauptteil verschraubt. AutoDefaults kann diese Option ändern. |
|
|
Automatisch Geschraubt |
|
|
Geschraubt |
|
|
Verschweißt |
|
|
Verschraubt und verschweißt |
Festlegung des Befestigungspunkts
Definieren Sie, ob das gebogene Blech am Steg oder am Flansch des Hauptteils angebracht ist.
Schraubenabstand und Schweißnahtspalt
|
Option |
Beschreibung |
|---|---|
|
|
Standard Definieren Sie den Schraubenabstand. Schweißnahtlücke wird nicht erstellt. AutoDefaults kann diese Option ändern. |
|
|
Definieren Sie den Schraubenabstand. Schweißnahtlücke wird nicht erstellt. |
|
|
Definieren Sie den Schraubenabstand. Schweißnahtlücke wird erstellt. |
|
|
Definieren Sie den Schraubenabstand und die Schweißnahtlücke. |
Registerkarte Steifen
Stellen Sie über die Registerkarte Steifen Abmessungen, Ausrichtung, Position und Typ von Steifen ein.
Abmessungen des Steifenblechs
| Option | Beschreibung |
|---|---|
|
Obere N/S |
Dicke, Breite und Höhe der oberen Steife auf der Vorderseite. |
|
Obere F/S |
Dicke, Breite und Höhe der oberen Steife auf der Rückseite. |
|
Untere N/S |
Dicke, Breite und Höhe der unteren Steife auf der Vorderseite. |
|
Untere F/S |
Dicke, Breite und Höhe der unteren Steife auf der Rückseite. |
|
Option |
Beschreibung |
Standard |
|---|---|---|
|
Pos. Nr. |
Präfix und Startnummer für die Teilepositionsnummer. Einige Komponenten verfügen über eine zweite Feldreihe, in der Sie die Positionsnummer des Montageteils eingeben können. |
Die Standard-Teil-Startnummer wird in den Komponenten-Einstellungen unter festgelegt. |
|
Material |
Material. |
Das Standardmaterial wird im Feld Material der Teile in den Komponenten-Einstellungen unter festgelegt. |
|
Name |
Name, der in Zeichnungen und Listen angezeigt wird. |
|
|
Ausführung |
Gibt an, wie die Teiloberfläche behandelt wurde. |
Steifenausrichtung
|
Option |
Beschreibung |
|---|---|
|
|
Standard Die Steifen verlaufen parallel zum Nebenteil. AutoDefaults kann diese Option ändern. |
|
|
Die Steifen verlaufen parallel zum Nebenteil. |
|
|
Die Steifen verlaufen senkrecht zum Hauptteil. |
Erstellen von Steifen
|
Option |
Beschreibung |
|---|---|
|
|
Standard Steifen werden erstellt. AutoDefaults kann diese Option ändern. |
|
|
Automatisch Steifen werden bei Bedarf erstellt. |
|
|
Es werden keine Steifen erstellt. |
|
|
Steifen werden erstellt. |
Versteifungsform
|
Option |
Beschreibung |
|---|---|
|
|
Standard Steifenbleche mit geraden Eckschnitten AutoDefaults kann diese Option ändern. |
|
|
Automatisch Steifenbleche mit geraden Eckschnitten |
|
|
Senkrechte Steifenbleche Steifenbleche mit einem Spalt für die Stegrundung des Hauptteils |
|
|
Steifenbleche mit geraden Eckschnitten |
Steifenspalt
|
Option |
Beschreibung |
|---|---|
|
|
Größe des Spalts zwischen den Flanschen und der Steife. |
Steifenpositionen
|
Beschreibung |
|
|---|---|
|
1 |
Größe des Spalts zwischen der Steife und der Kante des Trägerstegs. |
|
2 |
Abstand zwischen der oberen Steife an der Vorderseite und der Kante des Trägerflansches. |
|
3 |
Abstand zwischen der unteren Steife an der Vorderseite und der Kante des Trägerflansches. |
|
4 |
Abstand zwischen der unteren Steife an der Rückseite und der Kante des Trägerflansches. |
|
5 |
Abstand zwischen der oberen Steife an der Rückseite und der Kante des Trägerflansches. |
Abmessungen des Eckschnitts

|
Beschreibung |
Standard |
|
|---|---|---|
|
1 |
Vertikale Abmessung des Eckschnitts. |
10 mm |
|
2 |
Horizontale Abmessung des Eckschnitts. |
10 mm |
Eckschnitt-Form
|
Option |
Beschreibung |
|---|---|
|
|
Standard. Gerader Eckschnitt AutoDefaults kann diese Option ändern. |
|
|
Kein Eckschnitt |
|
|
Gerader Eckschnitt |
|
|
Konvexer Eckschnitt |
|
|
Konkaver Eckschnitt |
Registerkarte Voute
Auf der Registerkarte Voute legen Sie fest, wie die Voutenbleche und Eckschnitte an den Flanschen des Nebenträgers erzeugt werden.
Voutenbleche
| Option | Beschreibung |
|---|---|
|
Obere Voute |
Dicke, Breite und Höhe des oberen Voutenblechs. |
|
Untere Voute |
Dicke, Breite und Höhe des unteren Voutenblechs. |
|
Option |
Beschreibung |
Standard |
|---|---|---|
|
Pos. Nr. |
Präfix und Startnummer für die Teilepositionsnummer. Einige Komponenten verfügen über eine zweite Feldreihe, in der Sie die Positionsnummer des Montageteils eingeben können. |
Die Standard-Teil-Startnummer wird in den Komponenten-Einstellungen unter festgelegt. |
|
Material |
Material. |
Das Standardmaterial wird im Feld Material der Teile in den Komponenten-Einstellungen unter festgelegt. |
|
Name |
Name, der in Zeichnungen und Listen angezeigt wird. |
|
|
Ausführung |
Gibt an, wie die Teiloberfläche behandelt wurde. |
Voutenblecheckschnitte

|
Beschreibung |
|
|---|---|
|
1 |
Breite des oberen Voutenblecheckschnitts. |
|
2 |
Höhe des oberen Voutenblecheckschnitts. |
|
3 |
Höhe des unteren Voutenblecheckschnitts. |
|
4 |
Breite des unteren Voutenblecheckschnitts. |
Voutenblecherstellung
|
Option |
Beschreibung |
|---|---|
|
|
Standard Obere und untere Voutenbleche werden bei Bedarf erstellt. AutoDefaults kann diese Option ändern. |
|
|
Automatisch Bei Bedarf werden obere und untere Voutenbleche bzw. beide erstellt. |
|
|
Obere und untere Voutenbleche werden erstellt. Um ein einzelnes Blech zu erstellen, geben Sie für das nicht benötigte Blech (oberes oder unteres) 0 in das Feld Dicke (t) ein. |
|
|
Voutenbleche werden nicht erstellt. |
Registerkarte Einschnitt
Verwenden Sie die Registerkarte Ausklinkung, um automatisch Ausklinkungen für Nebenträger zu erzeugen und die Eigenschaften dieser Ausklinkungen zu kontrollieren. Die Registerkarte Ausklinkung besteht aus zwei Bereichen: automatische Eigenschaften (oberer Bereich) und manuelle Eigenschaften (unterer Bereich). Die automatischen und manuellen Ausklinkungseigenschaften arbeiten unabhängig voneinander.
Automatische Ausklinkung
Automatische Ausklinkungsoptionen wirken sich auf den oberen und unteren Flansch aus.
Ausklinkungsform
Die automatische Ausklinkung wird aktiviert, sobald Sie eine Ausklinkungsform auswählen.
|
Option |
Beschreibung |
|---|---|
|
|
Standard Erstellt Ausklinkungen am Nebenträger. AutoDefaults kann diese Option ändern. |
|
|
Erstellt Ausklinkungen am Nebenträger. Die Schnitte sind rechtwinklig zum Hauptträgersteg positioniert. |
|
|
Erstellt Ausklinkungen am Nebenträger. Die Schnitte sind senkrecht zum Nebenträgersteg positioniert. |
|
|
Erstellt Ausklinkungen am Nebenträger. Der vertikale Schnitt ist rechtwinklig zum Hauptträger, der horizontale Schnitt rechtwinklig zum Nebenträger positioniert. |
|
|
Deaktiviert die automatische Ausklinkung. |
Ausklinkungsgröße
|
Option |
Beschreibung |
|---|---|
|
|
Standard Die Ausklinkungsgröße wird von der Kante des Hauptträgerflansches und bis zur Unterseite des oberen Flansches des Hauptträgers gemessen. AutoDefaults kann diese Option ändern. |
|
|
Die Ausklinkungsgröße wird von der Kante des Hauptträgerflansches und bis zur Unterseite des oberen Flansches des Hauptträgers gemessen. |
|
|
Die Ausklinkungsgröße wird von der Mittellinie des Hauptträgerflansches und bis zum oberen Flansch des Hauptträgers gemessen. |
Geben Sie die horizontalen und vertikalen Werte der Schnitte ein.
Form des Flanschschnitts
|
Option |
Beschreibung |
|---|---|
|
|
Standard Der Nebenträgerflansch wird parallel zum Hauptträger geschnitten. AutoDefaults kann diese Option ändern. |
|
|
Der Nebenträgerflansch wird parallel zum Hauptträger geschnitten. |
|
|
Der Nebenträgerflansch wird senkrecht zu sich geschnitten. |
Ausklinkungsmaße runden
Verwenden Sie die Optionen Ausklinkungsmaße runden, um festzulegen, ob die Ausklinkungsmaße aufgerundet werden sollen. Auch wenn diese Option aktiviert ist, werden die Maße nur aufgerundet, wenn dies erforderlich ist.
|
Option |
Beschreibung |
|---|---|
|
|
Standard Ausklinkungsmaße werden nicht gerundet. AutoDefaults kann diese Option ändern. |
|
|
Ausklinkungsmaße werden nicht gerundet. |
|
|
Ausklinkungsmaße werden gerundet. Geben Sie die horizontalen und vertikalen Rundungswerte ein. |
Die Maße werden auf das nächste Mehrfache des Werts aufgerundet, den Sie eingeben. Wenn beispielsweise das tatsächliche Maß 51 beträgt und Sie den Aufrundungswert 10 eingegeben haben, wird das Maß auf 60 aufgerundet.
Ausklinkungsposition
|
Option |
Beschreibung |
|---|---|
|
|
Standard Erstellt den Schnitt unter dem Hauptträgerflansch. AutoDefaults kann diese Option ändern. |
|
|
Erstellt den Schnitt unter dem Hauptträgerflansch. |
|
|
Erstellt den Schnitt über dem Hauptträgerflansch. |
Ausklinkungseckschnitt
|
Option |
Beschreibung |
|---|---|
|
|
Standard Die Ausklinkung verfügt über keinen Eckschnitt. AutoDefaults kann diese Option ändern. |
|
|
Die Ausklinkung verfügt über keinen Eckschnitt. |
|
|
Erstellt die Ausklinkung mit einem geraden Eckschnitt. |
|
|
Der Ausklinkung wird ein Eckschnitt entsprechend des eingegebenen Radius hinzugefügt. |
Geben Sie einen Radius für den Eckschnitt ein.
Manuelle Ausklinkung
Verwenden Sie eine manuelle Ausklinkung, wenn ein Teil, das nicht zu der Verbindung gehört, mit dem Nebenträger kollidiert. Wenn Sie die manuelle Ausklinkung verwenden, erstellt die Verbindung mittels der Werte, die in die Felder auf der Registerkarte Ausklinkung eingegeben werden, Schnitte. Sie können für den oberen und unteren Flansch unterschiedliche Werte verwenden.
Seite der Flanschausklinkung
Die Seite der Flanschausklinkung definiert, auf welcher Seite des Trägers die Ausklinkungen erstellt werden.
|
Option |
Beschreibung |
|---|---|
|
|
Standard Erstellt Ausklinkungen an beiden Seiten des Flansches. AutoDefaults kann diese Option ändern. |
|
|
Automatisch Erstellt Ausklinkungen an beiden Seiten des Flansches. |
|
|
Erstellt Ausklinkungen an beiden Seiten des Flansches. |
|
|
Erstellt Ausklinkungen an der Vorderseite des Flansches. |
|
|
Erstellt Ausklinkungen an der Rückseite des Flansches. |
Form der Flanschausklinkung
Mit der Form der Flanschausklinkung wird die Form der Ausklinkung im Trägerflansch definiert.
|
Option |
Beschreibung |
|---|---|
|
|
Standard Der gesamte Flansch des Nebenträgers wird entsprechend der Definition geschnitten. AutoDefaults kann diese Option ändern. |
|
|
Automatisch Der gesamte Flansch des Nebenträgers wird entsprechend der Definition geschnitten. Standardmäßig entspricht die Tiefe der Ausklinkung der doppelten Dicke des Nebenflansches. Der Schnitt erstreckt sich immer über die gesamte Breite des Nebenflansches. |
|
|
Erstellt Eckschnitte im Flansch. Wenn Sie kein horizontales Maß eingeben, wird ein Eckschnitt von 45 Grad erstellt. |
|
|
Hiermit erstellen Sie Schnitte am Flansch mit Standardwerten, sofern keine Werte in den Feldern 1 und 2 eingegeben werden. |
|
|
Der Flansch wird nicht geschnitten. |
|
|
Hiermit erstellen Sie Schnitte am Flansch gemäß dem Wert in Feld 1, damit dieser bündig mit dem Steg abschließt. |
|
|
Hiermit erstellen Sie Schnitte am Flansch gemäß den Werten in den Feldern 1 und 2. |
Tiefe der Flanschausklinkung
|
Option |
Beschreibung |
|---|---|
|
|
Standard Flanschausklinkungstiefe AutoDefaults kann diese Option ändern. |
|
|
Flanschausklinkungstiefe |
|
|
Flanschausklinkungstiefe mit einem Abmessung ab Stegmittellinie Nebenträger bis Ausklinkungskante. |
Geben Sie den Wert für die Tiefe der Flanschausklinkung ein.
Ausschnittabmessungen
|
Beschreibung |
Standard |
|
|---|---|---|
|
1 |
Abmessungen für horizontale Flanschausschnitte. |
10 mm |
|
2 |
Abmessungen für vertikale Flanschausschnitte. |
Der Spalt zwischen Kante Ausklinkung und dem Trägerflansch entspricht der Stegrundung des Hauptteils. Die Ausklinkungshöhe wird auf die nächsten 5 mm aufgerundet. |
Registerkarte Schrauben
Stellen Sie über die Registerkarte Schrauben die Eigenschaften der Schrauben ein, die das gebogene Blech mit dem Hauptteil und dem Nebenteil verbinden.
Maße Schraubengruppe
|
Beschreibung |
|
|---|---|
|
1 |
Abmessung für vertikale Schraubengruppenposition. |
|
2 |
Wählen Sie, wie die Maße für die Position der vertikalen Schraubengruppe gemessen werden.
|
|
3 |
Anzahl der Schrauben. |
|
4 |
Schraubenabstand. Geben Sie ein Leerzeichen ein, um Schraubenabstandswerte zu trennen. Geben Sie für jeden Schraubenabstand einen Wert ein. Geben Sie beispielsweise für 3 Schrauben 2 Werte ein. |
|
5 |
Schraubenrandabstand. Der Randabstand ist der Abstand zwischen der Mitte einer Schraube und dem Rand des Teils. |
Schraubenanordnung am gebogenen Blech
|
Option |
Beschreibung |
|---|---|
|
|
Standard Die Schrauben sind nicht versetzt. AutoDefaults kann diese Option ändern. |
|
|
Die Schrauben sind nicht versetzt. Die Schrauben, mit denen das gebogene Blech am Nebenteil befestigt ist, befinden sich auf der gleichen horizontalen Ebene wie die Schrauben, mit denen das Blech am Hauptteil befestigt ist. |
|
|
Die Schrauben am Hauptteil sind versetzt. Die Schrauben, mit denen das gebogene Blech am Hauptteil befestigt ist, werden um den halben vertikalen Schraubenabstandswert nach unten verschoben. |
|
|
Die Schrauben am Nebenteil sind versetzt. Die Schrauben, mit denen das gebogene Blech am Nebenteil befestigt ist, werden um den halben vertikalen Schraubenabstandswert nach unten verschoben. |
|
|
Die Schrauben am Nebenteil sind versetzt. Die Schrauben, die das gebogene Blech mit dem geneigten Nebenteil verbinden, liegen parallel zum Nebenteil. |
Schweißnähte zwischen Teilen
Sie können die Anzahl der Schweißnähte zwischen dem gebogenen Blech und dem Nebenteil sowie zwischen dem gebogenen Blech und dem Hauptteil definieren.
| Option | Beschreibung |
|---|---|
|
|
Schweißnähte zwischen gebogenem Blech und Nebenteil |
|
|
Schweißnähte zwischen gebogenem Blech und Hauptteil |
Maße Schraubengruppe
|
Beschreibung |
|
|---|---|
|
1 |
Definieren Sie, welche Schrauben aus der Schraubengruppe gelöscht werden. Geben Sie die Nummern der zu löschenden Schrauben ein, und trennen Sie die Nummern jeweils durch ein Leerzeichen. Die Schrauben sind von links nach rechts und von oben nach unten nummeriert. |
|
2 |
Anzahl der Schrauben. |
|
3 |
Schraubenabstand. Geben Sie ein Leerzeichen ein, um Schraubenabstandswerte zu trennen. Geben Sie für jeden Schraubenabstand einen Wert ein. Geben Sie beispielsweise für 3 Schrauben 2 Werte ein. |
|
4 |
Schraubenrandabstand. |
|
5 |
Ort, wo die Schrauben montiert werden sollen. |
Schraubenversatz
|
Option |
Beschreibung |
|---|---|
|
|
Standard Nicht versetzt AutoDefaults kann diese Option ändern. |
|
|
Nicht versetzt |
|
|
Versetzung 1 |
|
|
Versetzung 2 |
|
|
Versetzung 3 |
|
|
Versetzung 4 |
Grundlegende Schraubeneigenschaften
|
Option |
Beschreibung |
Standard |
|---|---|---|
|
Durchmesser |
Schraubendurchmesser. |
Die verfügbaren Größen sind im Schraubengarniturkatalog definiert. |
|
Schraubennorm |
Die innerhalb der Komponente zu verwendende Schraubennorm. |
Die verfügbaren Normen sind im Schraubengarniturkatalog definiert. |
|
Lochspiel |
Das Spiel zwischen Schraube und Loch. |
|
|
Gew. im Material |
Legt fest, ob sich das Gewinde bei Schaftschrauben innerhalb der verschraubten Teile befinden darf. Dies hat keine Auswirkungen, wenn Vollgewindeschrauben verwendet werden. |
Ja |
|
Baustelle/Werkstatt |
Ort, wo die Schrauben montiert werden sollen. |
Baustelle |
Langlöcher
Es können Langlöcher oder überdimensionierte Löcher definiert werden.
|
Option |
Beschreibung |
Standard |
|---|---|---|
|
1 |
Vertikale Abmessung des Langlochs. |
0 ergibt ein rundes Loch. |
|
2 |
Horizontale Abmessung des Langlochs oder Größe für übergroße Löcher. |
0 ergibt ein rundes Loch. |
|
Lochtyp |
Langloch erstellt Langlöcher. Großes Loch erstellt überdimensionierte Löcher. Kein Loch erzeugt keine Löcher. Gewindelöcher erstellt Gewindelöcher. |
|
|
Gedrehte Löcher |
Wenn es sich bei dem Lochtyp um Langloch handelt, werden die Langlöcher mit dieser Option gedreht. |
|
|
Löcher in |
Teil(e), in dem/denen Langlöcher erstellt werden. Die Optionen sind abhängig von der jeweiligen Komponente. |
Schraubengarnitur
Die aktivierten Kontrollkästchen definieren, welche Objekte (Schrauben, Unterlegscheiben und Muttern) in der Schraubengarnitur verwendet werden.
Deaktivieren Sie alle Kontrollkästchen, wenn Sie nur ein Loch erstellen möchten.
Um die Schraubengarnitur in einer vorhandenen Komponente zu ändern, aktivieren Sie das Kontrollkästchen Änderung und klicken auf Ändern.
Verlängerung der Schrauben
Definieren Sie, um welches Maß die Schrauben verlängert werden sollen. Verwenden Sie diese Option zum Beispiel dann, wenn eine Verlängerung der Schrauben aufgrund einer Lackierung erforderlich wird.
Registerkarte Trägerbearbeitung
Auf der Registerkarte Trägerbearbeitung können Sie Einstellungen zu Blechen, Schweißzugangslöchern, Trägerendbearbeitungen und Flanschschnitten festlegen.
Blech
| Option |
Beschreibung |
|---|---|
|
Blech |
Stärke und Breite des Blechs. |
|
Option |
Beschreibung |
Standard |
|---|---|---|
|
Pos. Nr. |
Präfix und Startnummer für die Teilepositionsnummer. Einige Komponenten verfügen über eine zweite Feldreihe, in der Sie die Positionsnummer des Montageteils eingeben können. |
Die Standard-Teil-Startnummer wird in den Komponenten-Einstellungen unter festgelegt. |
|
Material |
Material. |
Das Standardmaterial wird im Feld Material der Teile in den Komponenten-Einstellungen unter festgelegt. |
|
Name |
Name, der in Zeichnungen und Listen angezeigt wird. |
Abmessungen Schweißzugangsloch
|
Beschreibung |
|
|---|---|
|
1 |
Spalt zwischen dem oberen Flansch des Nebenteils und dem Hauptteil. |
|
2 |
Vertikale Abmessungen für obere und untere Schweißzugangslöcher. |
|
3 |
Horizontale Abmessungen für obere und untere Schweißzugangslöcher. |
|
4 |
Spalt zwischen dem Steg des Nebenteils und dem Hauptteil. Tekla Structures fügt den hier eingegebenen Wert dem auf der Registerkarte Abbildung hinzugefügten Abstand hinzu. |
|
5 |
Spalt zwischen dem unteren Flansch des Nebenteils und dem Hauptteil. Tekla Structures fügt den hier eingegebenen Wert dem auf der Registerkarte Abbildung hinzugefügten Abstand hinzu. |
Schweißzugangslöcher
|
Option |
Beschreibung |
Standard |
|---|---|---|
|
|
Standard Rundes Schweißzugangsloch AutoDefaults kann diese Option ändern. |
|
|
|
Rundes Schweißzugangsloch |
|
|
|
Senkrechtes Schweißzugangsloch |
|
|
|
Diagonales Schweißzugangsloch |
|
|
|
Rundes Schweißzugangsloch mit einem Radius, den Sie in |
|
|
|
Erweitertes kegelförmiges Schweißzugangsloch mit einem Radius und Abmessungen, die Sie in |
|
|
|
Konisches Schweißzugangsloch mit Radien, die Sie in Durch R als Großbuchstabe wird der große Radius (Höhe) definiert. Durch r als Kleinbuchstabe wird der kleine Radius definiert. |
R = 35 r = 10 |
Trägerendvorbereitung
|
Option |
Beschreibung |
|---|---|
|
|
Standard Der obere und untere Flansch werden vorbereitet. AutoDefaults kann diese Option ändern. |
|
|
Automatisch Der obere und untere Flansch werden vorbereitet. |
|
|
Trägerende wird nicht vorbereitet. |
|
|
Der obere und untere Flansch werden vorbereitet. |
|
|
Der obere Flansch wird vorbereitet. |
|
|
Der untere Flansch wird vorbereitet. |
Flanschschnitt
|
Option für oberen Flansch |
Option für unteren Flansch |
Beschreibung |
|---|---|---|
|
|
|
Standard Der Flansch wird nicht geschnitten. AutoDefaults kann diese Option ändern. |
|
|
|
Der Flansch wird nicht geschnitten. |
|
|
|
Der Flansch wird geschnitten. |
Bleche
|
Option für oberes Blech |
Option für unteres Blech |
Beschreibung |
|---|---|---|
|
|
|
Standard Die Bleche werden innerhalb der Flansche erstellt. AutoDefaults kann diese Option ändern. |
|
|
|
Es werden keine Bleche erstellt. |
|
|
|
Die Bleche werden innerhalb der Flansche erstellt. |
|
|
|
Die Bleche werden außerhalb der Flansche erstellt. |
Blechlänge
Geben Sie die Länge des Blechs in das Feld unter den Optionen ein.
|
Option |
Beschreibung |
|---|---|
|
|
Standard Absolute Länge des Blechs AutoDefaults kann diese Option ändern. |
|
|
Absolute Länge des Blechs |
|
|
Verlängerung über den Rand des Flansches |
Blechposition
|
Option |
Beschreibung |
|---|---|
|
|
Geben Sie einen positiven oder negativen Wert ein, um das vordere Ende des Blechs relativ zum Flanschende zu verschieben. |
Montage
Definieren Sie, wo die Blechschweißnähte gesetzt werden. Wenn Sie die Option Werkstatt wählen, schließt Tekla Structures die Bleche in die Baugruppe ein.
Registerkarte Allgemein
Klicken Sie auf den folgenden Link, um weitere Informationen zu erhalten:
Registerkarte Entwurf
Klicken Sie auf den folgenden Link, um weitere Informationen zu erhalten:
Registerkarte Berechnung
Klicken Sie auf den folgenden Link, um weitere Informationen zu erhalten:
Schweißnähte
Klicken Sie auf den folgenden Link, um weitere Informationen zu erhalten:






definieren können