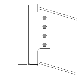
Lasche geschraubt Typ 5 (185)
Lasche geschraubt Typ 5 (185) verbindet zwei Träger mit einer geschraubten Lasche. Die Lasche wird mit dem Steg und den Flanschen des Hauptträgers verschweißt und mit dem Nebenträgersteg verschraubt. Der Nebenträger kann eben oder geneigt sein. Eine Steife an der Rückseite des Hauptträgerstegs und an den mit den Nebenträgerflanschen verschweißten Voutenblechen sind optional.
Erzeugte Objekte
-
Laschen (1 oder 2)
-
Steife (optional)
-
Voutenbleche (optional)
-
Schweißbleche (optional)
-
Schrauben
-
Schweißnähte
-
Schnitte
Verwendung
|
Situation |
Beschreibung |
|---|---|
|
|
Lasche geschraubt. |
|
|
Lasche geschraubt. Das Nebenteil ist geneigt. |
|
|
Lasche geschraubt. Das Nebenteil ist geneigt und abgeschrägt. |
|
|
Lasche geschraubt. Das Nebenteil ist versetzt. Einige Schrauben wurden gelöscht. |
Auswahlreihenfolge
-
Wählen Sie das Hauptteil aus (Träger).
-
Wählen Sie das Nebenteil aus (Träger).
Bei Auswahl des Nebenteils wird die Verbindung automatisch erzeugt.
Teilerkennung
|
Teil |
|
|---|---|
|
1 |
Lasche |
|
2 |
Voutenblech |
Tekla Structures verwendet die Werte aus der Datei joints.def, um diese Komponente zu erstellen.
Registerkarte Abbildung
Über die Registerkarte Abbildung können Sie die Position von Lasche, Trägerflansch und Stegschnitten festlegen.
Abmessungen/Bemaßungen

|
Beschreibung |
Standard |
|
|---|---|---|
|
1 |
Abstand zwischen Laschenkante und Hauptteilflanschkante. |
0 |
|
2 |
Abstand zwischen Laschenkante und Hauptteilflanschkante. |
0 |
|
3 |
Schnitt des Nebenteils. Durch Schneiden des Nebenteils wird ein Spalt zwischen dem Hauptteil und dem Nebenteil erzeugt. |
20 mm |
|
4 |
Größe der Lasche, die an den Nebenteilflansch angepasst wird. Die Ausklinkung des Flanschs wird von der Laschenkante aus definiert. |
Der Flansch wird automatisch ausgeklinkt, wenn die Scherlasche den Flansch kreuzt. 20 mm |
|
5 |
Spalt zwischen Lasche und Hauptteilsteg. |
Trägerendschnitt
Definieren Sie, wie das Ende des Nebenträgers geschnitten wird. Der Träger wird von der Seite betrachtet.
|
Option |
Beschreibung |
|---|---|
|
|
Standard Schräg AutoDefaults kann diese Option ändern. |
|
|
Automatisch Wenn der Nebenträger weniger als 10 Grad geneigt ist, wird das Trägerende senkrecht geschnitten. Andernfalls wird das Trägerende schräg geschnitten. |
|
|
Quadrat Schneidet das Ende des Nebenträgers senkrecht ab. |
|
|
Schräg Schneidet das Ende des Nebenträgers parallel zur Kante des Hauptteils. |
|
|
Der senkrechte Schnitt liegt näher zum Steg des Hauptteils Schneidet das Ende des Nebenträger senkrecht und platziert den Träger näher zum Steg des Hauptteils. |
|
|
Abgeschnittener Flansch Schneidet die Ecke des Flanschs am Ende des Nebenträgers. |
Trägerstegschnitt
Definieren Sie, wie das Ende des Nebenträgerstegs geschnitten wird. Der Träger wird von oben betrachtet.
|
Option |
Beschreibung |
|---|---|
|
|
Standard Schräg AutoDefaults kann diese Option ändern. |
|
|
Schräg Schneidet das Ende des Stegs schräg, wenn das Ende des Nebenträgers auch schräg abgeschnitten ist. |
|
|
Quadrat Schneidet das Ende des Stegs auch dann senkrecht, wenn das Ende des Nebenträgers schräg geschnitten ist. |
Trägerflanschschnitt
Definieren Sie, wie das Ende des Nebenträgerflansches geschnitten wird. Der Träger wird von oben betrachtet.
|
Option |
Beschreibung |
|---|---|
|
|
Standard Schräg AutoDefaults kann diese Option ändern. |
|
|
Schräg Schneidet das Ende des Flansches schräg. |
|
|
Quadrat Schneidet einen Teil des Flansches senkrecht und belässt einen anderen Teil schräg. |
Flanschschnitt Trägerunterseite
|
Option |
Beschreibung |
|---|---|
|
|
Standard Flanschschnitt AutoDefaults kann diese Option ändern. |
|
|
Einschnitt Die Unterseite des Nebenträgers wird ausgeklinkt, wenn die Lasche den Flansch kreuzt. Geben Sie Radius und Höhe für den Einschnitt an. |
|
|
Flanschschnitt Der Flansch des Nebenträgers wird auf der gleichen Seite geschnitten wie die Lasche, wenn diese den Flansch kreuzt. |
Registerkarte Bleche
Über die Registerkarte Bleche können Sie Größe, Position, Anzahl und Form der Lasche festlegen.
Laschenplatte
| Option | Beschreibung |
|---|---|
|
Lasche |
Dicke, Breite und Länge der Lasche. |
|
Option |
Beschreibung |
Standard |
|---|---|---|
|
Pos. Nr. |
Präfix und Startnummer für die Teilepositionsnummer. Einige Komponenten verfügen über eine zweite Feldreihe, in der Sie die Positionsnummer des Montageteils eingeben können. |
Die Standard-Teil-Startnummer wird in den Komponenten-Einstellungen unter festgelegt. |
|
Material |
Material. |
Das Standardmaterial wird im Feld Material der Teile in den Komponenten-Einstellungen unter festgelegt. |
|
Name |
Name, der in Zeichnungen und Listen angezeigt wird. |
|
|
Ausführung |
Gibt an, wie die Teiloberfläche behandelt wurde. |
Laschenfasen

| Beschreibung | |
|---|---|
|
1 |
Horizontale Abmessung des Lascheneckschnitts. |
|
2 |
Vertikale Abmessung der Laschenfase. |
|
3 |
Vertikale und horizontale Abmessung des Eckschnitts der Lasche. |
Eckschnitt-Form
|
Option |
Beschreibung |
|---|---|
|
|
Standard Gerader Eckschnitt AutoDefaults kann diese Option ändern. |
|
|
Kein Eckschnitt |
|
|
Gerader Eckschnitt |
|
|
Konvexer Eckschnitt |
|
|
Konkaver Eckschnitt |
Maße der Eckschnitt-Form
|
Option |
Beschreibung |
|---|---|
|
|
Standard Gerader Eckschnitt AutoDefaults kann diese Option ändern. |
|
|
Kein Eckschnitt |
|
|
Gerader Eckschnitt |
|
|
Konkaver Eckschnitt |
Innere Lascheneckschnitte
|
Beschreibung |
|
|---|---|
|
1 |
Horizontale Abmessung des Lascheneckschnitts. |
|
2 |
Vertikale Abmessung der Laschenfase. |
|
3 |
Radius und vertikale Abmessungen des inneren Eckschnitts der Lasche. |
Eckschnitt-Form
|
Option |
Option |
Beschreibung |
|---|---|---|
|
|
|
Standard Kein Eckschnitt AutoDefaults kann diese Option ändern. |
|
|
|
Kein Eckschnitt |
|
|
|
Gerader Eckschnitt |
|
|
|
Konvexer Eckschnitt |
|
|
|
Konkaver Eckschnitt |
Innerer Eckschnitttyp
|
Option |
Beschreibung |
|---|---|
|
|
Standard Konkaver Eckschnitt AutoDefaults kann diese Option ändern. |
|
|
Kein Eckschnitt |
|
|
Gerader Eckschnitt |
|
|
Konkaver Eckschnitt |
|
|
Konvexer Eckschnitt |
Position der Lasche
Definieren Sie die Anzahl und die Seite der in einzelnen Verbindungen erstellten Laschen.
|
Option |
Beschreibung |
|---|---|
|
|
Standard Rückseite der Lasche AutoDefaults kann diese Option ändern. |
|
|
Automatisch Die Komponente wählt automatisch die vordere oder die hintere Lasche aus. Die Lasche wird an der Seite des Nebenteils erstellt, an der der Winkel zwischen Haupt- und Nebenteil weniger als 90 Grad beträgt. |
|
|
Rückseite der Lasche |
|
|
Vorder- und Rückseite der Lasche |
|
|
Vorderseite der Lasche |
Spalt zwischen Laschen

| Beschreibung | Standard | |
|---|---|---|
|
1 |
Spalt zwischen dem Steg des Nebenteils und der Lasche. |
0 |
Laschen-Endschnitt
|
Option |
Beschreibung |
|---|---|
|
|
Standard Das Laschenende wird nicht geschnitten. AutoDefaults kann diese Option ändern. |
|
|
Quadrat Das Laschenende wird nicht geschnitten. |
|
|
Schräg Das Laschenende wird parallel zum Steg des Hauptteils geschnitten. |
Laschenausrichtung
|
Option |
Beschreibung |
|---|---|
|
|
Standard Quadrat AutoDefaults kann diese Option ändern. |
|
|
Automatisch Quadrat |
|
|
Geneigt Die Lasche wird in Richtung des Nebenträgers geneigt. Beide vertikalen Kanten der Lasche werden parallel zum Ende des Nebenträgers geschnitten. |
|
|
Quadrat |
Registerkarte Steifen
Auf der Registerkarte Steifen stellen Sie Abmessungen, Ausrichtung, Position und Typ des Steifenblechs ein.
Abmessungen des Stegsteifenblechs
| Option | Beschreibung |
|---|---|
|
Stegaussteifung |
Dicke, Breite und Höhe der Stegsteife. |
|
Option |
Beschreibung |
Standard |
|---|---|---|
|
Pos. Nr. |
Präfix und Startnummer für die Teilepositionsnummer. Einige Komponenten verfügen über eine zweite Feldreihe, in der Sie die Positionsnummer des Montageteils eingeben können. |
Die Standard-Teil-Startnummer wird in den Komponenten-Einstellungen unter festgelegt. |
|
Material |
Material. |
Das Standardmaterial wird im Feld Material der Teile in den Komponenten-Einstellungen unter festgelegt. |
|
Name |
Name, der in Zeichnungen und Listen angezeigt wird. |
|
|
Ausführung |
Gibt an, wie die Teiloberfläche behandelt wurde. |
Erstellen von Steifen
|
Option |
Beschreibung |
|---|---|
|
|
Standard Es werden keine Steifen erstellt. AutoDefaults kann diese Option ändern. |
|
|
Vollständig Erstellt eine komplette Steife mit der gleichen Höhe wie der Steg des Hauptteils. |
|
|
Bestimmt durch die Lasche Tekla Structures bestimmt die Größe der Steife anhand der Laschengröße. Tekla Structures versucht, die Unterkanten der Steife und der Lasche wenn möglich auf derselben Höhe zu halten. |
|
|
Optimiert Lässt einen Abstand zwischen Steifenblech und dem unteren Flansch des Hauptteils. |
|
|
Es werden keine Steifen erstellt. |
Steifenspalt

| Beschreibung | |
|---|---|
|
1 |
Spaltgröße zwischen Hauptteilflansch und Steife. |
|
2 |
Abstand zwischen Hauptteil-Flanschkante und Steifenkante. |
|
3 |
Spalt zwischen Stegsteife und Hauptteilsteg. |
Steifenausrichtung
|
Option |
Beschreibung |
|---|---|
|
|
Standard Die Steifen verlaufen parallel zum Nebenteil. AutoDefaults kann diese Option ändern. |
|
|
Die Steifen verlaufen senkrecht zum Hauptteil. |
|
|
Die Steifen verlaufen parallel zum Nebenteil. |
Abmessungen des Eckschnitts
|
Beschreibung |
|
|---|---|
|
1 |
Horizontale Abmessung des Eckschnitts. |
|
2 |
Vertikale Abmessung des Eckschnitts. |
Eckschnitt-Form
|
Option |
Beschreibung |
|---|---|
|
|
Standard Gerader Eckschnitt AutoDefaults kann diese Option ändern. |
|
|
Kein Eckschnitt |
|
|
Gerader Eckschnitt |
|
|
Konvexer Eckschnitt |
|
|
Konkaver Eckschnitt |
Stegsteifenversatz
Hierüber definieren Sie den Versatz zwischen Stegsteife und Mittellinie Lasche.
Registerkarte Voute
Auf der Registerkarte Voute legen Sie fest, wie die Voutenbleche und Fasen an den Flanschen des Nebenträgers erzeugt werden.
Voutenbleche
| Option | Beschreibung |
|---|---|
|
Kopfplatte |
Dicke, Breite und Länge der Kopfplatte. |
|
Untere Voute |
Dicke, Breite und Höhe der unteren Platte. |
|
Option |
Beschreibung |
Standard |
|---|---|---|
|
Pos. Nr. |
Präfix und Startnummer für die Teilepositionsnummer. Einige Komponenten verfügen über eine zweite Feldreihe, in der Sie die Positionsnummer des Montageteils eingeben können. |
Die Standard-Teil-Startnummer wird in den Komponenten-Einstellungen unter festgelegt. |
|
Material |
Material. |
Das Standardmaterial wird im Feld Material der Teile in den Komponenten-Einstellungen unter festgelegt. |
|
Name |
Name, der in Zeichnungen und Listen angezeigt wird. |
|
|
Ausführung |
Gibt an, wie die Teiloberfläche behandelt wurde. |
Voutenblecheckschnitte

|
Beschreibung |
|
|---|---|
|
1 |
Breite des oberen Voutenblecheckschnitts. |
|
2 |
Höhe des oberen Voutenblecheckschnitts. |
|
3 |
Höhe des unteren Voutenblecheckschnitts. |
|
4 |
Breite des unteren Voutenblecheckschnitts. |
Voutenblecherstellung
|
Option |
Beschreibung |
|---|---|
|
|
Standard Obere und untere Voutenbleche werden bei Bedarf erstellt. AutoDefaults kann diese Option ändern. |
|
|
Automatisch Bei Bedarf werden obere und untere Voutenbleche bzw. beide erstellt. |
|
|
Obere und untere Voutenbleche werden erstellt. Um ein einzelnes Blech zu erstellen, geben Sie für das nicht benötigte Blech (oberes oder unteres) 0 in das Feld Dicke (t) ein. |
|
|
Voutenbleche werden nicht erstellt. |
Registerkarte Einschnitt
Verwenden Sie die Registerkarte Ausklinkung, um automatisch Ausklinkungen für den Nebenträger zu erzeugen und die Eigenschaften dieser Einschnitte zu kontrollieren. Die Registerkarte Ausklinkung besteht aus zwei Bereichen: automatische Eigenschaften (oberer Bereich) und manuelle Eigenschaften (unterer Bereich). Die automatischen und manuellen Ausklinkungseigenschaften arbeiten unabhängig voneinander.
Automatische Ausklinkung
Automatische Ausklinkungsoptionen wirken sich auf den oberen und unteren Flansch aus.
Ausklinkungsform
Die automatische Ausklinkung wird aktiviert, sobald Sie eine Ausklinkungsform auswählen.
|
Option |
Beschreibung |
|---|---|
|
|
Standard Erstellt Ausklinkungen am Nebenträger. AutoDefaults kann diese Option ändern. |
|
|
Erstellt Ausklinkungen am Nebenträger. Die Schnitte sind rechtwinklig zum Hauptträgersteg positioniert. |
|
|
Erstellt Ausklinkungen am Nebenträger. Die Schnitte sind senkrecht zum Nebenträgersteg positioniert. |
|
|
Erstellt Ausklinkungen am Nebenträger. Der vertikale Schnitt ist rechtwinklig zum Hauptträger, der horizontale Schnitt rechtwinklig zum Nebenträger positioniert. |
|
|
Deaktiviert die automatische Ausklinkung. |
Ausklinkungsgröße
|
Option |
Beschreibung |
|---|---|
|
|
Standard Die Ausklinkungsgröße wird von der Kante des Hauptträgerflansches und bis zur Unterseite des oberen Flansches des Hauptträgers gemessen. AutoDefaults kann diese Option ändern. |
|
|
Die Ausklinkungsgröße wird von der Kante des Hauptträgerflansches und bis zur Unterseite des oberen Flansches des Hauptträgers gemessen. |
|
|
Die Ausklinkungsgröße wird von der Mittellinie des Hauptträgerflansches und bis zum oberen Flansch des Hauptträgers gemessen. |
Geben Sie die horizontalen und vertikalen Werte der Schnitte ein.
Form des Flanschschnitts
|
Option |
Beschreibung |
|---|---|
|
|
Standard Der Nebenträgerflansch wird parallel zum Hauptträger geschnitten. AutoDefaults kann diese Option ändern. |
|
|
Der Nebenträgerflansch wird parallel zum Hauptträger geschnitten. |
|
|
Der Nebenträgerflansch wird senkrecht zu sich geschnitten. |
Ausklinkungsmaße runden
Verwenden Sie die Optionen Ausklinkungsmaße runden, um festzulegen, ob die Ausklinkungsmaße aufgerundet werden sollen. Auch wenn diese Option aktiviert ist, werden die Maße nur aufgerundet, wenn dies erforderlich ist.
|
Option |
Beschreibung |
|---|---|
|
|
Standard Ausklinkungsmaße werden nicht gerundet. AutoDefaults kann diese Option ändern. |
|
|
Ausklinkungsmaße werden nicht gerundet. |
|
|
Ausklinkungsmaße werden gerundet. Geben Sie die horizontalen und vertikalen Rundungswerte ein. |
Die Maße werden auf das nächste Mehrfache des Werts aufgerundet, den Sie eingeben. Wenn beispielsweise das tatsächliche Maß 51 beträgt und Sie den Aufrundungswert 10 eingegeben haben, wird das Maß auf 60 aufgerundet.
Ausklinkungsposition
|
Option |
Beschreibung |
|---|---|
|
|
Standard Erstellt den Schnitt unter dem Hauptträgerflansch. AutoDefaults kann diese Option ändern. |
|
|
Erstellt den Schnitt unter dem Hauptträgerflansch. |
|
|
Erstellt den Schnitt über dem Hauptträgerflansch. |
Ausklinkungseckschnitt
|
Option |
Beschreibung |
|---|---|
|
|
Standard Die Ausklinkung verfügt über keinen Eckschnitt. AutoDefaults kann diese Option ändern. |
|
|
Die Ausklinkung verfügt über keinen Eckschnitt. |
|
|
Erstellt die Ausklinkung mit einem geraden Eckschnitt. |
|
|
Der Ausklinkung wird ein Eckschnitt entsprechend des eingegebenen Radius hinzugefügt. |
Geben Sie einen Radius für den Eckschnitt ein.
Manuelle Ausklinkung
Verwenden Sie eine manuelle Ausklinkung, wenn ein Teil, das nicht zu der Verbindung gehört, mit dem Nebenträger kollidiert. Wenn Sie die manuelle Ausklinkung verwenden, erstellt die Verbindung mittels der Werte, die in die Felder auf der Registerkarte Ausklinkung eingegeben werden, Schnitte. Sie können für den oberen und unteren Flansch unterschiedliche Werte verwenden.
Seite der Flanschausklinkung
Die Seite der Flanschausklinkung definiert, auf welcher Seite des Trägers die Ausklinkungen erstellt werden.
|
Option |
Beschreibung |
|---|---|
|
|
Standard Erstellt Ausklinkungen an beiden Seiten des Flansches. AutoDefaults kann diese Option ändern. |
|
|
Automatisch Erstellt Ausklinkungen an beiden Seiten des Flansches. |
|
|
Erstellt Ausklinkungen an beiden Seiten des Flansches. |
|
|
Erstellt Ausklinkungen an der Vorderseite des Flansches. |
|
|
Erstellt Ausklinkungen an der Rückseite des Flansches. |
Form der Flanschausklinkung
Mit der Form der Flanschausklinkung wird die Form der Ausklinkung im Trägerflansch definiert.
|
Option |
Beschreibung |
|---|---|
|
|
Standard Der gesamte Flansch des Nebenträgers wird entsprechend der Definition geschnitten. AutoDefaults kann diese Option ändern. |
|
|
Automatisch Der gesamte Flansch des Nebenträgers wird entsprechend der Definition geschnitten. Standardmäßig entspricht die Tiefe der Ausklinkung der doppelten Dicke des Nebenflansches. Der Schnitt erstreckt sich immer über die gesamte Breite des Nebenflansches. |
|
|
Erstellt Eckschnitte im Flansch. Wenn Sie kein horizontales Maß eingeben, wird ein Eckschnitt von 45 Grad erstellt. |
|
|
Hiermit erstellen Sie Schnitte am Flansch mit Standardwerten, sofern keine Werte in den Feldern 1 und 2 eingegeben werden. |
|
|
Der Flansch wird nicht geschnitten. |
|
|
Hiermit erstellen Sie Schnitte am Flansch gemäß dem Wert in Feld 1, damit dieser bündig mit dem Steg abschließt. |
|
|
Hiermit erstellen Sie Schnitte am Flansch gemäß den Werten in den Feldern 1 und 2. |
Tiefe der Flanschausklinkung
|
Option |
Beschreibung |
|---|---|
|
|
Standard Flanschausklinkungstiefe AutoDefaults kann diese Option ändern. |
|
|
Flanschausklinkungstiefe |
|
|
Flanschausklinkungstiefe mit einem Abmessung ab Stegmittellinie Nebenträger bis Ausklinkungskante. |
Geben Sie den Wert für die Tiefe der Flanschausklinkung ein.
Ausschnittabmessungen
|
Beschreibung |
Standard |
|
|---|---|---|
|
1 |
Abmessungen für horizontale Flanschausschnitte. |
10 mm |
|
2 |
Abmessungen für vertikale Flanschausschnitte. |
Der Spalt zwischen Kante Ausklinkung und dem Trägerflansch entspricht der Stegrundung des Hauptteils. Die Ausklinkungshöhe wird auf die nächsten 5 mm aufgerundet. |
Abmessung von Steg zu Flanschschnitt
|
Beschreibung |
|
|---|---|
|
1 |
Definieren Sie den Abstand zwischen Steg und Flanschschnitt. |
Registerkarte Schrauben
Über die Registerkarte Schrauben können Sie die Eigenschaften der Schrauben festlegen, mit denen die Lasche mit dem Nebenteil verbunden ist.
Maße Schraubengruppe
Die Maße der Schraubengruppe wirken sich auf Größe und Form der Lasche aus.
|
Beschreibung |
|
|---|---|
|
1 |
Abmessung für horizontale Schraubengruppenposition. |
|
2 |
Schraubenrandabstand. Der Randabstand ist der Abstand zwischen der Mitte einer Schraube und dem Rand des Teils. |
|
3 |
Anzahl der Schrauben. |
|
4 |
Schraubenabstand. Geben Sie ein Leerzeichen ein, um Schraubenabstandswerte zu trennen. Geben Sie für jeden Schraubenabstand einen Wert ein. Geben Sie beispielsweise für 3 Schrauben 2 Werte ein. |
|
5 |
Abmessung für vertikale Schraubengruppenposition. |
|
6 |
Wählen Sie, wie die Maße für die Position der vertikalen Schraubengruppe gemessen werden.
|
|
7 |
Definieren Sie, welche Schrauben aus der Schraubengruppe gelöscht werden. Geben Sie die Nummern der zu löschenden Schrauben ein, und trennen Sie die Nummern jeweils durch ein Leerzeichen. Die Schrauben sind von links nach rechts und von oben nach unten nummeriert. |
Schraubenversatz
|
Option |
Beschreibung |
|---|---|
|
|
Standard Nicht versetzt AutoDefaults kann diese Option ändern. |
|
|
Nicht versetzt |
|
|
Versetzung 1 |
|
|
Versetzung 2 |
|
|
Versetzung 3 |
|
|
Versetzung 4 |
Schraubengruppenausrichtung
|
Option |
Beschreibung |
|---|---|
|
|
Standard Quadrat AutoDefaults kann diese Option ändern. |
|
|
Automatisch Quadrat |
|
|
Geschrankt Die Schrauben werden in Richtung des Nebenteils versetzt. |
|
|
Quadrat Eine senkrechte Schraubengruppe wird horizontal angeordnet. |
|
|
Geneigt Eine senkrechte Schraubengruppe wird in Richtung des Nebenteils geneigt. |
Grundlegende Schraubeneigenschaften
|
Option |
Beschreibung |
Standard |
|---|---|---|
|
Durchmesser |
Schraubendurchmesser. |
Die verfügbaren Größen sind im Schraubengarniturkatalog definiert. |
|
Schraubennorm |
Die innerhalb der Komponente zu verwendende Schraubennorm. |
Die verfügbaren Normen sind im Schraubengarniturkatalog definiert. |
|
Lochspiel |
Das Spiel zwischen Schraube und Loch. |
|
|
Gew. im Material |
Legt fest, ob sich das Gewinde bei Schaftschrauben innerhalb der verschraubten Teile befinden darf. Dies hat keine Auswirkungen, wenn Vollgewindeschrauben verwendet werden. |
Ja |
|
Baustelle/Werkstatt |
Ort, wo die Schrauben montiert werden sollen. |
Baustelle |
Langlöcher
Es können Langlöcher oder überdimensionierte Löcher definiert werden.
|
Option |
Beschreibung |
Standard |
|---|---|---|
|
1 |
Vertikale Abmessung des Langlochs. |
0 ergibt ein rundes Loch. |
|
2 |
Horizontale Abmessung des Langlochs oder Größe für übergroße Löcher. |
0 ergibt ein rundes Loch. |
|
Lochtyp |
Langloch erstellt Langlöcher. Großes Loch erstellt überdimensionierte Löcher. Kein Loch erzeugt keine Löcher. Gewindelöcher erstellt Gewindelöcher. |
|
|
Gedrehte Löcher |
Wenn es sich bei dem Lochtyp um Langloch handelt, werden die Langlöcher mit dieser Option gedreht. |
|
|
Löcher in |
Teil(e), in dem/denen Langlöcher erstellt werden. Die Optionen sind abhängig von der jeweiligen Komponente. |
Schraubengarnitur
Die aktivierten Kontrollkästchen definieren, welche Objekte (Schrauben, Unterlegscheiben und Muttern) in der Schraubengarnitur verwendet werden.
Deaktivieren Sie alle Kontrollkästchen, wenn Sie nur ein Loch erstellen möchten.
Um die Schraubengarnitur in einer vorhandenen Komponente zu ändern, aktivieren Sie das Kontrollkästchen Änderung und klicken auf Ändern.
Verlängerung der Schrauben
Definieren Sie, um welches Maß die Schrauben verlängert werden sollen. Verwenden Sie diese Option zum Beispiel dann, wenn eine Verlängerung der Schrauben aufgrund einer Lackierung erforderlich wird.
Verschraubungsrichtung
|
Option |
Beschreibung |
|---|---|
|
|
Standard Schraubenrichtung 1 AutoDefaults kann diese Option ändern. |
|
|
Verschraubungsrichtung 1 |
|
|
Verschraubungsrichtung 2 |
Registerkarte Trägerbearbeitung
Auf der Registerkarte Trägerbearbeitung können Sie Einstellungen zu Blechen, Schweißzugangslöchern, Trägerendbearbeitungen und Flanschschnitten festlegen.
Futterblech
| Option | Beschreibung |
|---|---|
|
Futterblech |
Dicke und Breite des Futterblechs. |
|
Option |
Beschreibung |
Standard |
|---|---|---|
|
Pos. Nr. |
Präfix und Startnummer für die Teilepositionsnummer. Einige Komponenten verfügen über eine zweite Feldreihe, in der Sie die Positionsnummer des Montageteils eingeben können. |
Die Standard-Teil-Startnummer wird in den Komponenten-Einstellungen unter festgelegt. |
|
Material |
Material. |
Das Standardmaterial wird im Feld Material der Teile in den Komponenten-Einstellungen unter festgelegt. |
|
Name |
Name, der in Zeichnungen und Listen angezeigt wird. |
|
|
Ausführung |
Gibt an, wie die Teiloberfläche behandelt wurde. |
Abmessungen Schweißzugangsloch
|
Beschreibung |
|
|---|---|
|
1 |
Spalt zwischen dem oberen Flansch des Nebenteils und dem Hauptteil. |
|
2 |
Vertikale Abmessungen für obere und untere Schweißzugangslöcher. |
|
3 |
Horizontale Abmessungen für obere und untere Schweißzugangslöcher. |
|
4 |
Spalt zwischen dem Steg des Nebenteils und dem Hauptteil. Tekla Structures fügt den hier eingegebenen Wert dem auf der Registerkarte Abbildung hinzugefügten Abstand hinzu. |
|
5 |
Spalt zwischen dem unteren Flansch des Nebenteils und dem Hauptteil. Tekla Structures fügt den hier eingegebenen Wert dem auf der Registerkarte Abbildung hinzugefügten Abstand hinzu. |
Schweißzugangslöcher
|
Option |
Beschreibung |
Standard |
|---|---|---|
|
|
Standard Rundes Schweißzugangsloch AutoDefaults kann diese Option ändern. |
|
|
|
Rundes Schweißzugangsloch |
|
|
|
Senkrechtes Schweißzugangsloch |
|
|
|
Diagonales Schweißzugangsloch |
|
|
|
Rundes Schweißzugangsloch mit einem Radius, den Sie in |
|
|
|
Erweitertes kegelförmiges Schweißzugangsloch mit einem Radius und Abmessungen, die Sie in |
|
|
|
Konisches Schweißzugangsloch mit Radien, die Sie in Durch R als Großbuchstabe wird der große Radius (Höhe) definiert. Durch r als Kleinbuchstabe wird der kleine Radius definiert. |
R = 35 r = 10 |
Trägerendvorbereitung
|
Option |
Beschreibung |
|---|---|
|
|
Standard Der obere und untere Flansch werden vorbereitet. AutoDefaults kann diese Option ändern. |
|
|
Automatisch Der obere und untere Flansch werden vorbereitet. |
|
|
Trägerende wird nicht vorbereitet. |
|
|
Der obere und untere Flansch werden vorbereitet. |
|
|
Der obere Flansch wird vorbereitet. |
|
|
Der untere Flansch wird vorbereitet. |
Flanschschnitt
|
Option für oberen Flansch |
Option für unteren Flansch |
Beschreibung |
|---|---|---|
|
|
|
Standard Der Flansch wird nicht geschnitten. AutoDefaults kann diese Option ändern. |
|
|
|
Der Flansch wird nicht geschnitten. |
|
|
|
Der Flansch wird geschnitten. |
Bleche
|
Option für oberes Blech |
Option für unteres Blech |
Beschreibung |
|---|---|---|
|
|
|
Standard Die Bleche werden innerhalb der Flansche erstellt. AutoDefaults kann diese Option ändern. |
|
|
|
Es werden keine Bleche erstellt. |
|
|
|
Die Bleche werden innerhalb der Flansche erstellt. |
|
|
|
Die Bleche werden außerhalb der Flansche erstellt. |
Blechlänge
Geben Sie die Länge des Blechs in das Feld unter den Optionen ein.
|
Option |
Beschreibung |
|---|---|
|
|
Standard Absolute Länge des Blechs AutoDefaults kann diese Option ändern. |
|
|
Absolute Länge des Blechs |
|
|
Verlängerung über den Rand des Flansches |
Blechposition
|
Option |
Beschreibung |
|---|---|
|
|
Geben Sie einen positiven oder negativen Wert ein, um das vordere Ende des Blechs relativ zum Flanschende zu verschieben. |
Montage
Definieren Sie, wo die Blechschweißnähte gesetzt werden. Wenn Sie die Option Werkstatt wählen, schließt Tekla Structures die Bleche in die Baugruppe ein.
Registerkarte Allgemein
Klicken Sie auf den folgenden Link, um weitere Informationen zu erhalten:
Registerkarte Entwurf
Klicken Sie auf den folgenden Link, um weitere Informationen zu erhalten:
Registerkarte Berechnung
Klicken Sie auf den folgenden Link, um weitere Informationen zu erhalten:
Schweißnähte
Klicken Sie auf den folgenden Link, um weitere Informationen zu erhalten:




definieren können