Stringer to channel (127)

Tekla Structures
Upraveno: 18 Lis 2024
2025
Tekla Structures

Stringer to channel (127)

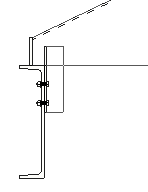
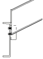
Stringer to channel (127) connects a stringer to a channel with an angle profile. The angle profile is welded to the stringer and bolted to the channel. A vertical plate is welded to the end of the stringer.

Objects created

  • Angle plate

  • Vertical plate (optional)

  • Bolts

  • Welds

  • Cuts to shape the end of the stringer

Use for

Situation

Description

The angle profile is bolted to the channel and welded to the stringer. The stringer is cut horizontally to the top level of the channel.

No horizontal cut in the stringer.

A vertical plate is created to the end of the stringer.

Limitations

Stringer to channel (127) works only if the connecting profile is an angle.

Before you start

Create a stringer and a channel.

Selection order

  1. Select the main part (a channel).

  2. Select the secondary part (a stringer).

    The connection is created automatically when the secondary part is selected.

Part identification key

Part

1

Angle profile

2

Vertical plate

Picture tab

Use the Picture tab to define the position of the angle profile and the vertical plate, and whether the stringer is cut.

Stringer cut

Option

Description

Option 1

Default

Option 2

The stringer is cut horizontally to the top level of the channel.

Option 3

No horizontal cut in the stringer.

Description

Default

1

Position of the vertical plate.

Define the vertical distance from the stringer top edge to the vertical plate top.

0

2

Position of the angle profile.

Define the vertical distance from the channel top to the angle profile top.

Option 1 or 2:

  • metric: 65 mm

  • imperial: 2"1/2

Option 3:

  • 0

3

Location of the stringer cut.

Define the vertical distance from the channel top edge to the plane where the stringer is cut horizontally and the bottom of the vertical plate is positioned.

  • metric: 12 mm

  • imperial: 1/2"

4

Location of the stringer cut.

Define the horizontal distance from the channel web to the stringer.

  • metric: 12 mm

  • imperial: 1/2"

Parts tab

Use the Parts tab to control the properties of the vertical plate and the angle profile.

Vertical plate and angle profile

Option

Description

Default

Vertical plate

Vertical plate thickness.

If you set the value to 0, no vertical plate is created.

metric: 10 mm

imperial: 3/8"

The default name is PROFILE.

Angle

Define the angle profile by selecting it from the profile catalog.

If you do not select an L profile, the connection will not be created.

metric: L75*6

imperial: L3X3X1/4

The default name is ANGLE.

Option

Description

Default

Pos_No

Prefix and start number for the part position number.

Some components have a second row of fields where you can enter the assembly position number.

The default part start number is defined in the Components settings in File menu > Settings > Options.

Material

Material grade.

The default material is defined in the Part material box in the Components settings in File menu > Settings > Options.

Name

Name that is shown in drawings and reports.

Parameters tab

Use the Parameters tab to control the leg orientation and the position of the angle profile.

Angle profile leg orientation

If the legs of the angle profile are of uneven length, you can switch their position.

Option

Description

Default

The longer leg of the angle profile is connected to the channel.

AutoDefaults can change this option.

The longer leg of the angle profile is connected to the channel.

The longer leg of the angle profile is connected to the stringer.

Angle profile position

Option

Description

Default

Angle profile is on the outer surface of the channel.

AutoDefaults can change this option.

Angle profile is on the outer surface of the channel.

Angle profile is on the inner surface the channel.

Bolts tab

Use the Bolts tab to control the bolts that connect the angle profile to the channel.

Bolt group dimensions

Description

Default

1

Vertical distance from the top of the channel to the center of the top bolt.

metric: 75 mm

imperial: 3"

2

Number of bolts.

2

3

Bolt spacing.

Use a space to separate bolt spacing values. Enter a value for each space between bolts. For example, if there are 3 bolts, enter 2 values.

metric: 75 mm

imperial: 3"

4

Vertical distance from the bottom of the angle profile to the center of the bottom bolt.

metric: 40 mm

imperial: 1"1/2

5

Horizontal distance from the stringer edge to the center line of the bolts.

metric: 40 mm

imperial: 1"1/2

Bolt basic properties

Option

Description

Default

Bolt size

Bolt diameter.

Available sizes are defined in the bolt assembly catalog.

Bolt standard

Bolt standard to be used inside the component.

Available standards are defined in the bolt assembly catalog.

Tolerance

Gap between the bolt and the hole.

Thread in mat

Defines whether the thread may be within the bolted parts when bolts are used with a shaft.

This has no effect when full-threaded bolts are used.

Yes

Site/Workshop

Location where the bolts should be attached.

Site

Slotted holes

You can define slotted, oversized, or tapped holes.

Option

Description

Default

1

Vertical dimension of slotted hole.

0, which results in a round hole.

2

Horizontal dimension of slotted hole, or allowance for oversized holes.

0, which results in a round hole.

Hole type

Slotted creates slotted holes.

Oversized creates oversized holes.

No hole does not create holes.

Tapped creates tapped holes.

Rotate Slots

When the hole type is Slotted, this option rotates the slotted holes.

Slots in

Part(s) in which slotted holes are created. The options depend on the component in question.

Bolt assembly

The selected check boxes define which component objects (bolt, washers, and nuts) are used in the bolt assembly.

If you want to create a hole only, clear all the check boxes.

To modify the bolt assembly in an existing component, select the Effect in modify check box and click Modify.

Bolt length increase

Define how much the bolt length is increased. Use this option when, for example, painting requires the bolt length to be increased.

General tab

Click the link below to find out more:

General tab

Analysis tab

Click the link below to find out more:

Analysis tab

Bylo to užitečné?
Předchozí
Další