Beam to beam framing connections

Tekla Structures
Upraveno: 21 Lis 2016
2024
Tekla Structures

Beam to beam framing connections

Shear tabs

Example Description

Full depth shear tab - secondary beam cut short of main part.

Use Beam with stiffener (129).

Full depth shear tab - secondary part sloped and/or skewed.

Use Beam with stiffener (129).

Simple shear tab to beam.

Use Shear plate simple (146).

Simple shear tab to beam - bolt elimination option.

Use Shear plate simple (146).

Simple shear tab to beam - skewed secondary part.

Use Shear plate simple (146).

Simple shear tab to beam - sloped (and skewed) secondary part. Bolts and plate oriented with secondary part.

Use Shear plate simple (146).

Simple shear tab to beam - sloped and skewed secondary part. Valley condition.

Use Shear plate simple (146).

Simple shear tab to beam - sloped and skewed secondary part. Valley condition.

Use Shear plate simple (146).

Partial depth shear tab to top flange of beam - square or skewed, stiffener option.

Use Welded to top flange (147).

Partial depth shear tab to top flange of beam. Sloped/ square or skewed.

Use Welded to top flange (147).

Partial depth shear tab to top flange of beam, secondary beam cut short of main part. Square, sloped, skewed.

Use Welded to top flange S (149).

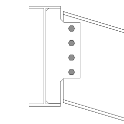
Full depth shear tab. Square, sloped, skewed.

Use Full depth (184).

Full depth shear tab. Secondary beam cut short of main part.

Use Full depth S (185).

Full depth shear tab. Secondary beam cut short of main part. Sloped secondary.

Use Full depth S (185).

Full depth shear tab. Secondary beam cut short of main part. Sloped and skewed secondary (hip & valley).

Use Full depth S (185).

Full depth shear tab. Secondary beam cut short of main part. Secondary offset. Bolt elimination option.

Use Full depth S (185).

Clip angles

Example Description

Clip angle connection – single-sided clip/double-sided clip.

Use Clip angle (141).

Clip angle connection – single-sided clip/double-sided clip. Sloped secondary part. Various notching options.

Use Clip angle (141).

Clip angle connection – single-sided clip/double-sided clip. Weld preparation option.

Use Clip angle (141).

Clip angle connection – single-sided clip/double-sided clip. Sloped secondary part.

Use Clip angle (141).

Clip angle connection – single-sided clip/double-sided clip. Two secondary parts. Bolted/bolted, welded/bolted, welded/welded options.

Use Two sided clip angle (143).

Clip angle connection – single-sided clip/double-sided clip. Two secondary parts at differing heights.

Use Two sided clip angle (143).

Clip angle connection – single-sided clip/double-sided clip. Two secondary parts. Safety connection.

Use Two sided clip angle (143).

Clip angle connection – single-sided clip/double-sided clip. Two secondary parts. One sloped.

Use Two sided clip angle (143).

End plates

Example Description

End plate connection - level or sloped, square or skewed secondary part. Various notching options.

Use End plate (144).

End plate connection – extended plate with or without haunches.

Use End plate (144).

End plate connection – two secondary parts. Automatic notch for bolt clearance.

Use Two sided end plate (142).

End plate connection – two secondary parts at differing heights.

Use Two sided end plate (142).

End plate connection – two secondary parts. Square and /or skewed.

Use Two sided end plate (142).

End plate connection – two secondary parts. Safety connection.

Use Two sided end plate (142).

End plate connection – two secondary parts. Level and/or sloped.

Use Two sided end plate (142).

Bent plate

Example Description

Bent plate connection – skewed or square secondary part, plate near side and far side.

Use Bent plate (190).

Bent plate connection – skewed or square secondary part, plate one side.

Use Bent plate (190).

Bent plate connection – skewed or square secondary part, plate one side. Various plate placing options.

Use Bent plate (190).

Bent plate connection – skewed and sloped (hip & valley).

Use Bent plate (190).

Bearing type

Example Description

Beam to beam bearing connection. Options for 1,2,3, or 4 bolts.

Use Seating (30).

Beam to beam bearing connection. Spacer option.

Use Seating (30).

Beam to beam bearing connection. Brace support.

Use Seating (30).

Beam to beam bearing connection with stub column. Square, sloped and skewed conditions.

Use Cross (4).

Beam to beam bearing clamp type connection.

Use Seating with nail (36).

Beam to beam bearing purlin connection to single purlin.

Use Purlin connections (93).

Beam to beam bearing purlin connection to two purlins.

Use Purlin connections (93).

Beam to beam bearing notched seating connection. Square and skewed conditions.

Use Notched seating (9).

Beam to beam bearing tube steel rails to main part. Cope or hole bolt access options.

Use Tube rail (113).

Beam to beam bearing notched seat with angle.

Use Rail joint (70).

Beam to beam bearing rafter connection to two secondary parts. Notching required.

Use Rail joint (70).

Beam to beam bearing rafter connection to two secondary parts. Plate. Notching required.

Use Rail joint (70).

Beam to beam bearing rafter connection to two secondary parts. Sloped/level notching required.

Use Rail joint (70).

Beam to beam full bearing rafter connection to two secondary parts. Plate.

Use Cold rolled overlap (1).

Beam to beam full bearing rafter connection to two secondary parts. Angle.

Use Cold rolled overlap (1).

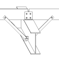
Beam to beam full bearing rafter connection to two secondary parts. Knee brace option.

Use Cold rolled overlap (1).

Bylo to užitečné?
Odeslat
Předchozí
Další